Центрифугирование

ЦЕНТРИФУГИРОВАНИЕ, разделение в поле центробежных сил жидких дисперсных систем с частицами размером более 100 нм. Используют для выделения составляющих фаз (жидкая - фугат или фильтрат, твердая - осадок) из двухкомпонентных (суспензии, эмульсии) и трехкомпонентных (эмульсии, содержащие твердую фазу) систем.

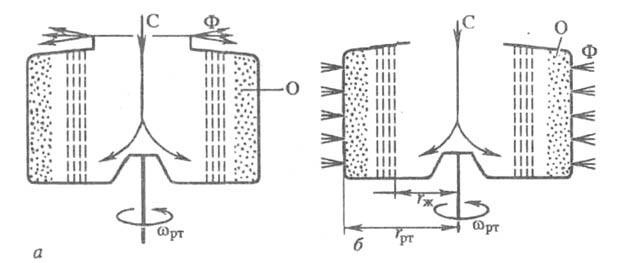
Методы и аппаратура. Различают два метода центрифугирования: центробежное осаждение и фильтрование. Центрифугирование проводят в центробежных машинах - центрифугах и жидкостных центробежных сепараторах. Осн. рабочий орган этих машин - осесимметричная оболочка, или ротор (барабан), вращающийся с большой частотой6016-4.jpg с-1, благодаря чему создается поле центробежных сил до 2 х 104g в промышленных и до 35 х 104 g в лабораторных машинах (g - ускорение своб. падения в гравитац. поле). В зависимости от метода центрифугирования осуществляется в сплошных (осадительных; рис. 1, а)или перфорированных (покрытых фильтрующим материалом; рис. 1, б)роторах.

6016-5.jpg

Рис. 1. Роторы машин для центробежного осаждения (а) и фильтрования (б): С - суспензия, Ф - фугат (фильтрат), О - осадок; пояснение в тексте, rж -радиус свободной поверхности жидкости.

Центрифугирование характеризуется рядом технол. параметров, определяющих качество процесса и его кинетику. К ним относятся: фактор разделения6016-6.jpg (rрт - макс. внутр. радиус ротора), отражающий интенсивность центробежного поля; скорость центрифугирования - производительность центробежной машины по исходной жидкой системе или составляющим ее компонентам; унос - содержание твердой фазы в фугате (фильтрате); насыщенность осадка жидкой фазой (в т. ч. влажность осадка) после центрифугирования; крупность разделения - миним. размер частиц, улавливаемых при центробежном осаждении.
Кинетика центрифугирования зависит от мн. факторов, классифицируемых на две группы. Факторы первой группы определяются физ.-хим. cв-вами разделяемой системы (разность плотностей фаз, гранулометрич. состав твердой фазы, вязкость жидкой фазы, уд. сопротивление осадка при фильтровании). Факторы второй группы, обусловленные конструкцией и частотой вращения ротора центробежной машины (структура внутрироторного потока, его гидродинамика и поле скоростей), оказывают решающее влияние на центробежное осаждение и отчасти на центробежное фильтрование; в свою очередь гидродинамич. режим зависит от производительности машины. Мат. описание потока дается ур-ниями Навье - Стокса и неразрывности (см. Гидромеханические процессы), к-рые составляются с учетом геометрии ротора и граничных условий; решение зачастую находится методами подобия теории.
Центробежное осаждение включает осветление, сгущение, а также осадительное центрифугирование. Осветление - удаление твердой фазы из суспензий с содержанием частиц не более 5% по объему; используют для очистки, напр., нефтяных масел. Сгущение - процесс, при к-ром частицы дисперсной фазы группируются в относительно малом объеме дисперсионной среды; позволяет осуществлять концентрирование суспензий (напр., водная суспензия каолина). Осадительное центрифугирование -разделение суспензий с содержанием твердой фазы более 5-10% по объему; применяют преим. для обезвоживания твердых компонентов (напр., CaSO4).

При центробежном осаждении движение твердых частиц происходит под действием центробежной силы6016-7.jpg (d - диаметр частицы;6016-8.jpg- разность плотностей твердой и жидкой фаз; r - расстояние от частицы до оси вращения ротора) и силы сопротивления жидкой среды S. Соотношение этих сил определяет скорость осаждения w. При ламинарном режиме, характерном для осветления, сила S выражается законом Стокса:6016-9.jpg и6016-10.jpg где6016-11.jpg динамич. вязкость жидкой фазы. Для турбулентного режима при осаждении крупных частиц высококонцентрир. суспензий сила S находится из ур-ния:6016-12.jpg(6016-13.jpg- коэф. лобового сопротивления; рж - плотность жидкой фазы). Гидродинамика потока определяет время пребывания частиц в роторе, aw- время осаждения; сопоставление этих величин позволяет найти крупность разделения.
Центробежное фильтрование происходит с образованием или без образования осадка на фильтровальной перегородке, а также при одновременном протекании в ее зонах обоих процессов; наиб. эффективно для получения осадков с миним. влажностью. Процесс принято делить на три периода: образование осадка, удаление из него избыточной жидкости и удаление жидкости, удерживаемой межмол. силами (мех. сушка осадка). Первый период охватывает центробежное осаждение и фильтрование через слой образовавшегося осадка. Для расчета кинетики процесса используют закон Дарси - Вейсбаха; движущая сила (перепад давления6016-14.jpg ) определяется центробежным полем, действующим на суспензию:6016-15.jpg где6016-16.jpg- плотность суспензии; rж - радиус своб. пов-сти жидкости (рис. 1, б). На6016-17.jpg оказывает влияние проскальзывание жидкости над слоем осадка. Период может протекать при разл. режимах; наиб. характерны режимы при постоянных6016-18.jpg и производительности по суспензии. Второй и третий периоды зависят от большого числа факторов, связанных с уплотнением осадка, формой его поровых каналов и др.; построение их мат. моделей крайне затруднено.
Из-за сложности центрифугирования производительность центробежных машин оценивают чаще всего путем моделирования по т. наз. индексу производительности6016-19.jpg подразумевая под F в первом приближении площадь боковой пов-сти ротора. Физ. смысл6016-20.jpg заключается в том, что по аналогии с осаждением в отстойниках производительность центрифуг также пропорциональна площади рабочей пов-сти, однако за счет центробежного поля увеличивается на фактор Fr. В зависимости от конструктивных особенностей ротора6016-22.jpg для машин каждого типа определяется своим ур-нием и используется при перерасчете производительности с одного типоразмера центрифуги на иной. Моделирование осуществляется при геом. подобии роторов и идентичности определяющих критериев процесса.

6016-21.jpg

Рис. 2. Центрифуга непрерывного действия: а - осадительная шнековая; б - фильтрующая шнековая; в - с пульсирующей выгрузкой осадка; г - инерционная; д - вибрационная; е - прецессионная; 1 - ротор; 2 -механизм выгрузки.

По сравнению с др. методами разделения (отстаивание, фильтрование) центрифугирование позволяет получать осадки с меньшей влажностью. При центробежном осаждении в отличие от фильтрования удается разделять суспензии (напр., в произ-вах лакокрасочных материалов) с тонкодисперсной твердой фазой, миним. размер частиц к-рой составляет 5-10 мкм. Важное достоинство центрифугирования - возможность его проведения в аппаратуре относительно малых объемов; недостаток - высокая энергоемкость.
Пром. центрифуги различают: по принципу разделения -осадительные, фильтрующие и комбинированные; по конструктивному исполнению - преим. по расположению ротора и системе выгрузки осадка (шнек; толкатель, или поршень; с использованием сил инерции); по организации процесса -периодического или непрерывного действия.
Центрифугирование в машинах периодич. действия осуществляется циклически в роторах с иногда регулируемой6016-23.jpg ножевой или ручной выгрузкой осадка.
На рис. 2 представлены принципиальные схемы разделения суспензий в машинах непрерывного действия. Осадительные шнековые центрифуги (рис. 2,а) предназначены для разделения суспензий с нерастворимой твердой фазой (напр., полиэтилен, полистирол, осадки сточных вод), обезвоживания кристаллич. и зернистых продуктов, классификации (напр., ТiO2), сгущения (напр., активный ил). Процесс происходит в сплошном роторе; осадок непрерывно выгружается шнеком, вращающимся с частотой6016-24.jpgДля этих центрифуг Fr6016-25.jpg600-3500.
Фильтрующие шнековые центрифуги (рис. 2, б)распространены при разделении высококонцентрир. суспензий с крупнозернистой твердой фазой (размер частиц более 0,2 мм, напр. глауберова соль). Центрифугирование производится в каркасном роторе с листовым ситом, через к-рое отводится фильтрат. Осадок выводится из ротора шнеком под действием разности частот вращения6016-26.jpg Высокие значения Fr (1200-1800) позволяют получать продукты с миним. влажностью.
Фильтрующие центрифуги с пульсирующей выгрузкой осадка (рис. 2, в)применяют в осн. для тех же целей, что и фильтрующие шнековые. Благодаря наличию толстого слоя осадка на колосниковом сите одно- или многокаскадного ротора удается осуществлять глубокую промывку продукта (напр., КС1, сахар-рафинад). Осадок выгружают посредством толкателя, совершающего возвратно-поступат. движение с линейной скоростью v; Fr6016-27.jpg300-700.
В инерционных центрифугах (рис. 2, г) осадок из ротора удаляется за счет составляющей центробежного поля; в вибрационных центрифугах (рис. 2, д) - благодаря вибрации ротора вдоль оси со скоростью v; впрецессионных центрифугах (рис. 2, е) - вследствие гироскопич. движения ротора с частотами вращения6016-28.jpg и6016-29.jpg Машины всех типов используют для центробежного фильтрования высококонцентрир. суспензий с крупнокристаллич. твердой фазой (напр., минеральные удобрения, уголь гидродобычи, сахарный песок).
Разновидность центрифугирования разделение суспензий и эмульсий в центробежных сепараторах. Их роторы снабжены пакетом конич. тарелок, установленных по отношению друг к другу с небольшим зазором (0,4-1,5 мм). Высокая степень разделения достигается благодаря его протеканию в тонком слое межтарелочного зазора при ламинарном режиме. Тонкодисперсные суспензии (присадки к маслам, гормональные препараты, антибиотики и др.), содержащие 0,5-4,0% по объему мех. примесей, осветляются в сепараторах-очистителях (рис. 3, а). Твердая фаза, собираясь в шламовом пространстве ротора, периодически удаляется из него при открытии днища (поршня). Центробежное сгущение (напр., кормовые и пекарские дрожжи) производится в сепараторах-сгустителях (рис. 3, б). Сгущенная фракция непрерывно выводится через сопла по периферии ротора, а осветленная - через верх. зону. Для разделения эмульсий (напр., нефтяные шламы, эпоксидные смолы) применяют сепараторы-разделители (рис. 4), в роторах к-рых предусмотрен пакет тарелок с отверстиями, расположенными на границе раздела тяжелой и легкой жидкостей; компоненты (фугаты Ф1и Ф2) выводятся раздельно. При наличии в эмульсии твердой фазы используют универсальные роторы с выгрузкой осадка в соответствии с рис. 3, а или вручную.
По аналогии с центрифугами разделяющая способность сепараторов оценивается индексом производительности

6016-30.jpg где z - число тарелок в пакете;6016-33.jpg- половина угла конуса тарелки при вершине; Rмакс, Rмин - наружный и внутр. радиусы тарелки. Моделирование процессов в сепараторах осуществляется, как и в центрифугах, по индексу производительности6016-34.jpg

6016-31.jpg

Рис. 3. Сепараторы для разделения суспензий: на рис. совмещены сепаратор-очиститель (а)и сепаратор-сгуститель (б); 1 - ротор; 2 - пакет тарелок; 3 - подвижное днище.

6016-32.jpg

Рис. 4. Сепаратор для разделения эмульсий: 1 - ротор; 2 - пакет тарелок; Ф1 и Ф2 - фугаты; Э - эмульсия.

Для изучения центрифугальных процессов в лаборатории используют модели пром. центрифуг и сепараторов с диаметром ротора 150-250 мм, а также т. наз. стаканчиковые центрифуги (ротор состоит из ряда пробирок - стаканчиков). Эти малогабаритные образцы позволяют экспериментально определять не только производительность пром. машин, но и возможность выгрузки осадков из роторов, конечную влажность продукта, унос. Исследования проводятся с небольшими объемами продуктов на спец. стендах. Стаканчиковые центрифуги используют для оценки времени осаждения частиц при разл. Fr.
Совр. центрифугальная техника имеет тенденцию к росту частот вращения роторов, повышению производительности, снижению уд. металле- и энергоемкости. Производительность машин возрастает благодаря совершенствованию гидродинамики роторов, увеличению их длины (в осадительных центрифугах) и высоты пакета (в сепараторах). Возрастают диаметры роторов в крупнотоннажных машинах; создаются ком-бинир. роторы, в конструкциях к-рых совмещаются разл. методы центрифугирования. Внедряются микропроцессорные системы управления и регулируемые приводы, обеспечивающие центрифугирование в оптим. режимах.
Центрифугирование широко распространено в технол. процессах хим.-лесного комплекса, пищевых, текстильных и др. произ-вах. Центрифугирование играет важную роль в решении экологич. проблем (очистка коммунальных и пром. стоков), в ресурсосберегающих технологиях.

Лит.: Соколов В. И., Центрифугирование, М., 1976; Шкоропад Д. Е., Новиков О. П., Центрифуги и сепараторы для химических производств, М., 1987.

И. А. Файнерман.

Ультрацентрифугирование - метод разделения и исследования частиц размером менее 100 нм (макромолекул органелл животных и растит. клеток, вирусов и др.) в поле центробежных сил. Позволяет разделять смеси частиц на фракции или индивидуальные компоненты, находить мол. массу и ММР полимеров, плотность их сeльватов. Дает возможность оценивать форму и размеры макромолекул в р-ре (см. Дисперсионный анализ), влияние статич. давления на стабильность частиц, параметры взаимод. типа ассоциация - диссоциация макромолекул друг с другом или с молекулами низкомол. компонентов и ионами, влияние природы р-рителя на кон-формации макромолекул и др.
Осуществляется с помощью ультрацентрифуг, снабженных полыми роторами, полости к-рых бывают замкнутыми и проточными. Различают скоростное и равновесное ультрацентрифугирование. В первом случае частицы движутся по радиусу ротора соотв. своим коэф. седиментации, в первом приближении пропорциональным массе частицы, разности плотностей частицы6016-35.jpg и жидкости6016-36.jpg при6016-37.jpg частицы перемещаются от оси вращения ротора к периферии (седиментируют), при6016-38.jpg - в сторону оси вращения (флотируют). При равновесном ультрацентрифугировании перенос частиц по радиусу продолжается до тех пор, пока сумма хим. потенциала и молярной потенциальной энергии в каждой точке системы не станет постоянной величиной, после чего распределение частиц перестанет изменяться.
Т. наз. аналит. ультрацентрифугирование применяется при анализе р-ров, дисперсий и производится посредством аналит. ультрацентрифуг, снабженных роторами с оптически прозрачными замкнутыми резервуарами и оптич. системами для определения концентрации или ее градиента по радиусу ротора во времени; исследуемые объемы - от 0,01 до 2 мл при массе частиц от неск. мкг до мг. Препаративное ультрацентрифугирование используют для выделения компонентов из сложных смесей; объем жидкости и масса исследуемого образца м. б. на неск. порядков больше, чем при аналит. ультрацентрифугировании. Центробежные ускорения в ультрацентрифугах достигают 5 x 105g. Первая аналит. ультрацентрифуга была создана Т. Сведбергом (1923; 5 x 103g).

Лит.: Боуэн Т., Введение в ультрацентрифугирование, пер. с англ., М., 1973.

А. Д. Морозкин.