Фильтрование
ФИЛЬТРОВАНИЕ (от лат. filtrum - войлок, англ., франц. filtration), разделение неоднородных систем жидкость -твердые частицы (суспензии) и газ - твердые частицы в спец. аппаратах - фильтрах, снабженных пористыми фильтровальными перегородками (ФП), к-рые пропускают жидкость или газ, но задерживают твердую фазу. Движущая сила процесса - разность давлений
по обе стороны ФП. Данная статья посвящена разделению суспензий. О закономерностях фильтрования под действием центробежных сил см. Центрифугирование, а разделении систем газ - твердые частицы см. Газов очистка, Пылеулавливание.
Различают: а) собственно разделение суспензий - отделение содержащихся в них твердых частиц, отлагаемых на ФП (осадок), через к-рую проходит подавляющее кол-во жидкости (фильтрат); б) сгущение суспензий - повышение в них концентрации твердой фазы путем удаления через ФП нек-рой части жидкой фазы; в) осветление жидкостей (осветительное фильтрование) - очистка от содержащегося в них небольшого кол-ва тонких взвесей (см. также Осаждение). Суспензии могут фильтроваться "хорошо", "средне" и "трудно", что определяют обычно по толщине слоя (мм) осадка, образующегося на ФП за 1 мин: соотв. 1-15, 0,1-3,0 и 0,005-0,2.
Некоторые основные понятия. Четкость разделения суспензии определяется качествами фильтрата и осадка. Качество фильтрата оценивают коэф. очистки с1/c2, где с1 и с2 - концентрации твердой фазы в исходной суспензии и фильтрате; коэф. уноса с2/с1; степенью очистки (с1 — с2)/c1 (отношение кол-ва задержанной и исходной твердой фазы). Качество осадка оценивают содержанием в нем жидкой фазы либо содержанием р-римых примесей, отнесенным к массе сухого осадка.
Интенсивность разделения суспензии может определяться объемом фильтрата V (м3), прошедшего через единицу площади S (м2) пов-сти фильтрования за единицу времени
, или скоростью фильтрования:
(мгновенная скорость фильтрования) либо
(средняя скорость фильтрования), где V' = V/S -удельный объем фильтрата.
В хим. технологии под фильтрованием понимают весь комплекс процессов, происходящих на фильтрах (фильтровальные процессы): собственно фильтрование, промывка и обезвоживание осадка, а также вспомогат. операции (загрузка суспензии, разгрузка и удаление осадка, регенерация ткани). В этом случае интенсивность разделения обычно оценивают удельной производительностью фильтра по фильтрату:

или по массе осадка тос:
продолжительность всего фильтровального цикла, собственно фильтрования, промывки и просушки осадка и вспомогат. операций.
Характеристика и закономерности фильтровальных процессов
Собственно фильтрование. Скорость процесса описывается ур-нием движения Эйлера, к-рое для одномерного ламинарного потека принимает форму закона Дарси:
, где Ro6, R -гидравлич. сопротивления (общее и отнесенное к единице вязкости
суспензии сопротивление движению фильтруемой жидкости через слой осадка и ФП).
Для преодоления гидравлич. сопротивления необходимо создание перепада давления (вакуума под ФП или избыточного давления над ней). На практике встречаются след. режимы фильтрования: 1) при
= const (разделение под вакуумом, под давлением, при подаче суспензии центробежным насосом, производительность к-рого значительно превышает производительность фильтра); 2) при v = const (подача суспензии объемным насосом); 3) при непрерывно изменяющихся
и v (подача центробежным насосом).
При фильтровании сопротивление R непрерывно возрастает. Зависимость его от уд. объема фильтрата описывается т. наз. обобщенным ур-нием фильтрования:

где К и n - константы. Для фиксированных значений n различают 5 видов фильтрования: с образованием осадка (n = 0), с закупориванием пор образующегося осадка (0,5), промежуточное (1,0), с постепенным закупориванием пор ФП (1,5), с полным закупориванием пор ФП (2,0). Константы ур-ния (2) и значения начального сопротивления R0 (при начальной скорости разделения v0) находят по спец. графикам зависимости скорости фильтрования от объема фильтрата при
= const.
Для часто применяемого режима фильтрования при
= const и R ~ 0 ур-ние (2) после преобразований принимает вид:

Наиб. распространенным в хим. технологии видом разделения суспензий является фильтрование с образованием осадка, описываемое т. наз. основным ур-нием:
или после преобразований:
(4)
где
- соотв. удельное объемное сопротивление осадка (сопротивление единицы объема осадка высотой 1 м, отложенного на ФП площадью 1 м2) и толщина его слоя (в м);
- соотношение объемов осадка и фильтрата; A = 2 (при
= const) и А = 1 (при v = const). Параметр
- ф-ция пористости
, диаметра (d)и уд. пов-сти (Sч)твердых частиц, их концентрации (с) в суспензии и
:
, где s и s'- константы. Иногда вместо
используют др. параметр - массовое уд. сопротивление осадка:
, где q = m/V.
Ур-ние (4) при R0 = 0 является частным случаем ур-ния (3). Последнее в форме V'=
с достаточной для техн. расчетов точностью описывает кинетику фильтрования и позволяет в определенных пределах экстраполировать эксперим. данные; показатель степени b от 0,3 до 1,0. При условии, что концентрация твердой фазы в суспензии не изменяется (c1 = const), справедливы также модификации ур-ния (3) для толщины слоя и массы осадка:
и т'ос =
, где V'0,
и т0ос -уд. объем фильтрата, толщина слоя и уд. масса осадка (mос/S), полученные за единицу времени.
Фильтрование можно интенсифицировать путем повышения т-ры суспензии, давления (ограничения - сжимаемость осадка, конструктивные возможности фильтра, прочность ФП), уменьшения толщины слоя осадка (ограничение - условия его съема), рационального подбора ФП и способа ее регенерации, а также снижением уд. сопротивления осадка. Последнее наиб. эффективно, т. к. обратно пропорционально квадрату диаметра твердой частицы и достигается применением коагулянтов и флокулянтов и рациональным приготовлением суспензии. Продолжительность фильтрования находят из ур-ния:

или из ур-ния (3) и его аналогов:

Промывка осадка - замена фильтрата в порах осадка чистым р-рителем; сопровождается гидродинамич. процессами поршневого вытеснения и смешения двух жидкостей, а также диффузионными и др. процессами. График зависимости отношения концентраций вымываемых в-в в вытекающей промывной жидкости (с) и фильтрате (с0) от отношения объемов промывной жидкости и пор осадка (Vпр/Vпор) наз. кривой промывки (рис. 1).
Для режима идеального вытеснения скорость течения промывной жидкости Vпр определяют по скорости промывки в конце фильтрования с корректировкой на изменение вязкости. В этом случае при Vпр/Vпор= 1 должно вытесняться 100% фильтрата (примесей). В действительности в осадке последовательно происходят процессы вытеснения, смешения и диффузии, вследствие чего удаляются 35-90% примесей. Для извлечения 90-99% примесей в хим. произ-вах соотношение Vnp/Vnop обычно поддерживается в пределах 2,5-5,0. Продолжительность промывки
(V'пр - конечный объем промывной жидкости) определяют, как правило, экспериментально.

Рис. 1. Кривые промывки осадков: 1 - идеальное вытеснение; 2 - реальный процесс.
Процесс диффузии, движущей силой к-рого является разность указанных выше концентраций
, может лимитировать как
так и кол-во вымываемого в-ва. Время диффузии находят по ф-ле:
, где D - коэф. диффузии;
- толщина диффузионного пограничного слоя; S' -площадь пов-сти раздела фаз. При обработке агрегированных и высокодисперсных осадков в них за счет физ.-хим. процессов образуются трещины, что существенно увеличивает расход жидкости и снижает эффективность промывки. Последнюю интенсифицируют, ре-пульпируя осадок в промывной жидкости; при этом ускоряется диффузия, а фильтрат извлекается из тупиковых и межагрегатных пор. Перспективны многократное взмучивание при противотоке твердой фазы и промывной жидкости, а также дробная промывка с использованием фильтрата от предыдущих операций.
Обезвоживание осадка - удаление жидкой фазы (фильтрата или промывной жидкости) из пор осадка независимо от того, состоит эта фаза из воды или др. жидкости. Осадок обезвоживают продувкой сжатым газом или паром, а также путем мех. отжима. Продувкой удаляют избыточную (свободную) и часть капиллярной влаги. Ее кол-во зависит от давления газа, к-рое должно превышать капиллярное давление. Для осадков крупнокристаллических и средней дисперсности связь между параметрами процесса описывается зависимостью:
, где w - влажность продутого осадка; w1 - влажность слоя осадка толщиной
= 1 см при его просушке в течение 1 с под давлением 0,1 МПа;
- эмпирич. константа. При продувке газом высокодисперсных осадков их структура изменяется по закономерностям, близким к отжиму.
Механический отжим производят валками, вибрационными устройствами, ФП, эластичными мембранами (диафрагмами) и обычно применяют для обезвоживания структурированных осадков. При этом агрегаты разрушаются, твердые частицы перемещаются относительно друг друга, а иногда и деформируются; толщина слоя осадка уменьшается. Кинетика процесса (зависимость объема жидкости Vд от продолжительности отжима диафрагмой
) описывается ур-нием:
, где n и m - константы. Очевидно, что при
(предельный объем жидкости). Отношение VД/VД,,П = ЕД наз. степенью обезвоживания. В зависимости от Ед продолжительность процесса описывается ур-нием:
=Eд(n/m)(1 - Ед). При
= const влажность осадка зависит от давления фильтрования (р)и давления отжима (рд): w = w1р-а + Bд(р — рд), где w1 - влажность осадка, отжатого при р = рд=1; а и Вд - константы. Обычно рд>r, что способствует снижению w. Для предотвращения "капсюлиро-вания" (образования на границах слоя очень плотного, практически непроницаемого осадка) увеличивать рд рекомендуется постепенно.
Фильтровальные перегородки
ФП должны обладать хорошей задерживающей способностью, незначит. гидравлич. сопротивлением, физ.-мех. прочностью, хим. стойкостью, большой пористостью и равномерным распределением пор по размерам, сохранять проницаемость при многократном фильтровании, легко регенерироваться, а при
Фильтрование с закупориванием пор - быть достаточно "грязеемкими". Осн. фильтрационные характеристики: вид материала, водопроницаемость, воздухопроводность, пористость, прочность, рабочее давление, масса 1 м2, линейные размеры.
Гибкие ФП - тканые, трикотажные, сетчатые, нетканые и др. Тканые ФП изготавливают из натуральных (хлопок, шерсть, шелк), искусственных (ацетаты целлюлозы, вискоза), синтетических (полиакрилонитрил, полиамиды, поливинил-хлорид, полиэфиры и др.), силикатных (асбест, стекло) и металлических (W, Mo, сплавы и т. д.) волокон и нитей.
Различают полотняные, саржевые и атласные (сатиновые) ткани. Полотняные ткани характеризуются высокой задерживающей способностью, равномерным распределением пор, большой прочностью, незначит. деформацией при растяжении. Саржевые ткани обладают большей проницаемостью и грязеемкостью, но меньшей прочностью, чем полотняные ткани, и хорошей задерживающей способностью. Сатиновые ткани по последним двум показателям уступают саржевым. Ворсование и каландрование повышают задерживающую способность и соотв. ухудшают или улучшают условия съема осадка.
Трикотажные ФП по эксплуатац. характеристикам близки к атласным тканям, но имеют меньшую задерживающую способность и сопротивление, а также сильно деформируются при растяжении. Перспективны бесшовные рукава для патронных фильтров.
Сетки фильтровые изготавливают из полимерных мононитей и металлов аналогично полотняным и саржевым тканям и используют для фильтрования, а также в качестве опоры для более плотных ФП с целью увеличения производительности фильтров. Нетканые ФП вырабатывают из тех же волокон (или их смесей), что и тканые перегородки, иглопробивным либо клеевым методами или формованием из расплавов. Нетканые ФП превосходят тканые по грязеемкости, пористости, задерживающей способности (за счет извилистости пор), проницаемости, но существенно уступают им по мех. прочности, регенерируемости и условиям съема осадка. К нетканым ФП близки по св-вам перегородки одноразового пользования - фильтровальные бумаги (непроклеенные бумаги из хл.-бум. волокна, зольность к-рых не превышает 0,8) и картон, отличающиеся дешевизной и доступностью. Подробнее о св-вах, получении, отделке и применении волокон см., напр., Волокна природные, Волокна химические.
Негибкие ФП м.б. жесткими и нежесткими. Жесткие ФП (керамика и металлокерамика, пористые пластмассы и металлы и др.) выпускаются в виде цилиндров (патронов), плит, листов толщиной 0,2-50 мм и тончайших нитей (ме-таллич. войлок) и отличаются постоянством структуры при изменении давления, хорошей задерживающей способностью, грязеемкостью (от незначительной - керамика, до повышенной - пластмассовые патроны), эффективностью регенерации 70-100% (за исключением трудно регенерируемой керамики и нерегенерируемых патронов одноразового пользования).
Нежесткие ФП бывают намывными (наиб. распространены) и насыпными (слои из песка, гравия, кокса, каменного угля и т. п. с толщиной загрузки до 1 м; регенерируются обратным током фильтрата).
Намывные ФП - инертные тонкозернистые или волокнистые слои фильтровальных вспомогат. в-в (ФВВ), образующих при осветлительном фильтровании малоконцентрир. суспензий пористый осадок. ФВВ добавляют в суспензию, предварительно наносят на ФП или комбинируют оба способа. Материалами для ФВВ служат, как правило, подвергнутые термообработке, размолу и классификации по сортам диатомит, перлит, угли, целлюлоза, а также древесная мука, отбеливающие земли (глины), глинозем, отходы произ-в волокнистых материалов.
Слой ФВВ обладает хорошими проницаемостью и задерживающей способностью, может предотвращать забивку пор ФП, обеспечивает получение качеств. фильтрата в начале фильтрования. Слой намывают путем многократной циркуляции через фильтр суспензии ФВВ в чистом фильтрате или близкой по св-вам жидкости. Св-ва слоя можно регулировать изменением концентрации ФВВ: чем она ниже, тем меньше пористость и выше задерживающая способность. Эффективно также смешение разл. ФВВ и их разных сортов.
Намывные слои бывают одноразовыми и обновляемыми (см. ниже). В последнем случае, если при фильтровании происходят интенсивное закупоривание пор намывного слоя и образование на нем слоя осадка, ФВВ добавляют в суспензию. В результате увеличиваются пористость и проницаемость, а также улучшаются реологич. св-ва осадка. При этом дисперсность и кол-во ФВВ выбирают близкими соответствующим параметрам мех. примесей. Правильность выбора дозы ФВВ оценивают по значению в ур-нии (3) показателя степени b (0,55-0,75): меньшие значения свидетельствуют о фильтровании с закупориванием пор, большие - о передозировке.
Промышленные фильтры По способу создания разности давлений пром. фильтры подразделяются на фильтры, работающие под вакуумом (вакуум-фильтры,
= 0,06 - 0,08 МПа), и фильтры, работающие под давлением (
= 0,3 - 0,5 МПа); по способу функционирования - на фильтры периодич. и непрерывного действия. В последних ФП обычно перемещается, процесс (подача суспензии и получение продуктов разделения) осуществляется непрерывно, а все операции проводятся последовательно. В данном разделе рассмотрены осн. типы фильтров, применяемых в хим. произ-вах.
Вакуумные фильтры непрерывного действия. Барабанные вакуум-фильтры (БВФ, рис. 2) с наружной фильтрующей поверхностью более распространены и используются для разделения среднефильтрующихся суспензий с незначит. (до 18 мм/с) скоростью осаждения грубой фракции твердой фазы; степени обезвоживания осадка и его отмывки ограничены. БВФ - покрытый фильтровальной тканью (сеткой), полый перфорированный барабан, вращающийся с частотой от 0,01-0,03 до 0,9 мин-1; барабан погружен под углом 50-200° в емкость (корыто) с суспензией. Между барабаном и днищем емкости размещена качающаяся мешалка для предотвращения осаждения твердых частиц в корыте. Пространство под ФП, часто разделенное на секции, через распределит. устройство сообщается при вращении барабана с источниками вакуума и сжатого воздуха. При этом образуются зоны фильтрования, промывки, просушки и продувки осадка, отдувки и регенерации ФП. Отфильтрованный и промытый осадок снимается обычно ножом, реже шнурами или полированным валиком. БВФ может снабжаться устройством для заглаживания трещин и отжима осадка, состоящим из бесконечной ленты неплотной ткани и системы направляющих роликов.

БВФ со сходящей тканью отличаются от описанных тем, что бесконечная тканая лента в зоне фильтрования и просушки осадка свободно огибает барабан, затем отделяется от него, перемещается между разгрузочным, промывочным и направляющим роликами, где происходят ножевой съем осадка и ее регенерация, и возвращается в зону фильтрования. Эти фильтры позволяют удалять осадки толщиной до 1 мм и качественно регенерировать ФП. Другая разновидность БВФ - безъячейковые фильтры с намывным слоем ФВВ и устройством для микроподачи ножа. Слой ФВВ толщиной
= 50-100 мм, намываемый на сетку, служит для осветлительного фильтрования с образованием осадка. Последний вместе с тонким слоем ФВВ срезается передвижным ножом со скоростью 0,05-0,25 мм·мин -1. Намывной слой периодически возобновляют.
БВФс внутренней фильтрующей поверхностью применяют для разделения относительно легко фильтрующихся суспензий со значит. (более 12 мм/с) скоростью осаждения грубой фракции, образующих нерастрескивающийся, не требующий промывки осадок. Последний в верх. части фильтра продувается и выгружается через бункер транспортером. Суспензию заливают внутрь барабана.
Двухбарабанные вакуум-фильтры предназначены для фильтрования хорошо фильтрующихся концентрир. суспензий с грубой полидисперсной твердой фазой. Эти фильтры состоят из синхронно вращающихся в противоположных направлениях ячейковых барабанов, соприкасающихся так, что ФП движутся сверху вниз. Суспензия поступает сверху в загерме-тизир. с торцов пространство между барабанами и отфильтровывается. Образующийся осадок промывается, просушивается и удаляется с противоположных концов барабанов. В ниж. части фильтра производится регенерация ФП.
Дисковые вакуум-ф и л ь т r ы используются благодаря развитой пов-сти в многотоннажных произ-вах для разделения относительно хорошо фильтрующихся суспензий со скоростью осаждения твердой фазы до 18 мм/с без промывки осадка. Они устроены аналогично БВФ: на полом валу вращается неск. дисков (частота 0,01-0,15 мин-1), состоящих обычно из 12 секторов, обтянутых сеткой или тканью.
Ленточные вакуум-фильтры (ЛВФ, рис. 3) служат для разделения относительно хорошо- и среднефильтру-ющихся суспензий с полидисперсной быстро осаждающейся твердой фазой и тщательной, как правило, противоточной промывкой осадка. Конструкция ЛВФ напоминает ленточный транспортер; эластичная бесконечная дренажная лента натянута на приводном и натяжном барабанах. Верх. ветвь ленты, покрытая фильтрующей тканью (сеткой), скользит по разделенной на отсеки вакуумной камере. Лента движется непрерывно со скоростью 0,6-10 м/мин либо дискретно. Суспензия и промывная жидкость подаются сверху, фильтрат через перегородку и дренажную систему ленты поступает в отсеки. Осадок снимается ножом иногда с продувкой воздухом через приводной барабан. В ниж. ветви ленты регенерируется ФП. Известны ЛВФ со сходящим полотном, валками для уплотнения и обезвоживания осадка, устройствами для просушки его паром или горячим воздухом и отжима эластичной диафрагмой.

Тарельчатые фильтры применяются для разделения хорошо фильтрующихся суспензий с грубодисперсной твердой фазой и значит. скоростью осаждения. Такой фильтр представляет собой вращающуюся вокруг вертикальной оси "тарелку" с кольцеобразной, разделенной на секторные ячейки фильтрующей пов-стью, к-рая ограничена наружным (неподвижен) и внутр. (вращается) бортами. Через неподвижную разделит. головку ячейки поочередно соединяются со сборниками фильтрата и промывной жидкости (находятся под вакуумом) и ресивером сжатого воздуха или источника пара. Осадок удаляется скребком либо шнеком.
Карусельные фильтры близки по конструкции и области применения к тарельчатым фильтрам, однако, как правило, больше по габаритам и отличаются тем, что ячейки ограничены бортами и являются как бы самостоят, фильтрами. Осадок выгружается при повороте ячеек на 900 вокруг радиальной оси.
Фильтры непрерывного действия, работающие под давлением. В отличие от вакуум-фильтров эти фильтры заключены в герметичный корпус и снабжены шнековыми, секторными и др. устройствами для выгрузки осадка.
Барабанные фильтры предназначены для разделения средне- и труднофильтрующихся суспензий, содержащих легколетучие пожаро- и взрывоопасные и токсичные в-ва с достаточно стабильными фильтрац. св-вами. Фильтры позволяют производить противоточную промывку осадка и его интенсивную сушку.
Динамические (безосадочные) фильтры используются для разделения или сгущения труднофильтрующихся суспензий и осветлительного фильтрования. Осадок обычно смывают путем перемешивания суспензии турбинными мешалками, а также за счет скоростного напора или центробежных сил. К фильтрам данного типа относятся также проточные фильтры, представляющие собой трубу или пакет труб со стенками из пористого материала, по к-рым под давлением со скоростью 2-8 м/с прокачивается сгущенная суспензия. Эти фильтры широко применяют также при микро- и ультрафильтрации.
Ротационные патронные и патронно-шай-бовые фильтры применяют для разделения средне- и хорошофильтрующихся достаточно концентрир. суспензий с небольшой скоростью осаждения (до 8 мм/с) твердой фазы. Степень обезвоживания осадка ограничена; промывка его невозможна. В герметичном горизонтальном цилиндрич. корпусе на приводном валу с неск. каналами (6-8) закреплен несущий диск, на к-ром. по окружности крепятся патроны либо перфорир. трубы с набором фильтрующих дисков (шайб). В центре вдоль оси в корыте расположено разгрузочное устройство (ленточный транспортер, шнек). Суспензия через штуцер в ниж. части крышки насосом подается под давлением 0,6-1,0 МПа в корпус фильтра и поддерживается на уровне оси или ниже. Фильтрующие элементы при вращении поочередно проходят зоны фильтрования, просушки воздухом и сброса осадка.
Ленточные фильтр-прессы (рис. 4) позволяют разделять флокулированные среднефильтрующиеся суспензии под действием гравитации и (или) вакуума с послед. отжимом осадка мех. давлением сжатия в клиновом зазоре между двумя движущимися дренажными лентами, снабженными сеткой, а также за счет напряжения сдвига при огибании этими лентами направляющих роликов. Осадок снимается ножом; при огибании разгрузочного барабана "холостые" ветви фильтровальных лент регенерируются подачей воды из спец. форсунок.

Фильтры периодического действия. Плиточно-рам -ные (ФПР) и плиточно-камерные (ФПК) f и л ь т р-п r е с с ы (рис. 5 и 6) предназначены для разделения средне- и труднофильтрующихся суспензий из водных и др. невзрывоопасных, инертных и агрессивных сред. Несмотря на негерметичность и невозможность поддержания постоянной рабочей т-ры, эти фильтры распространены в пром-сти вследствие развитой фильтрующей пов-сти, относительно низкой металлоемкости, возможности получения хорошо отмытых и отжатых осадков.


Общей особенностью фильтр-прессов всех конструкций является пакет фильтровальных элементов - плит (ФПК) или чередующихся плит и рам (ФПР), зажимаемый между неподвижной опорной и подвижной нажимной массивными жесткими плитами. Фильтровальные элементы опираются спец. кронштейнами на балки-стяжки. Плиты ФПК имеют круглую, квадратную или прямоугольную форму, плиты ФПP - только квадратную либо прямоугольную. Все плиты снабжены рифлениями для стока фильтра и углублениями для накопления осадка, а для подачи и удаления осадка суспензии - сквозными отверстиями. Последние при сборке плит (рам) в пакет образуют каналы для подачи суспензии, промывной жидкости, сжатого газа и отвода фильтратов. На неподвижной плите имеются соответствующие этим каналам отверстия и штуцеры для присоединения трубопроводов. Между плитами (рамами) располагаются полотна ФП, в к-рых также находятся подобные отверстия.
Суспензия по каналу подается под давлением в камеры или рамы до заполнения этого пространства осадком, к-рый при необходимости промывают, подавая промывную жидкость через ткань или по каналу, через к-рый движется суспензия (во MH. горизонтальных фильтрах). Осадок обезвоживают продувкой сжатым газом или отжимом (эластичными диафрагмами из резины либо полипропилена) под давлением до 1,5 МПа, Выгрузка осадка производится гравитационно (иногда с вибропобуждением) либо при перемещении бесконечной фильтровальной ленты и перегибе ее на роликах с подчисткой ножом. Фильтровальную ткань регенерируют активаторами в заполненной жидкостью камере либо перемещением вдоль фильтра распылит. устройства, вода в форсунки к-рого поступает под давлением до 10 МПа. Большинство фильтр-прессов работает автоматически.

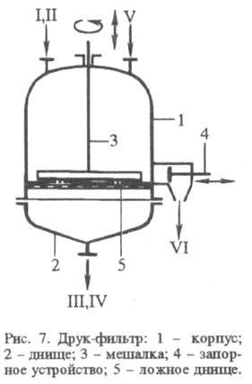
Емкостные фильтры, работающие под давлением, наз. друк-фильтрами, под вакуумом - нутч-фильтрами. Друк-фильтры (рис. 7) - вертикальные сосуды (обычно с рубашкой) с эллиптич. днищем, верх, пространство над к-рым служит для приема суспензии, нижнее - для фильтрата. На ложном днище и ниж. части корпуса крепится ФП. При фильтровании в заполненный суспензией корпус подают сжатый газ. Полученный осадок промывают, просушивают и выгружают с помощью мешалки через люк в боковой пов-сти или в центре ложного днища. В ряде конструкций осадок удаляют после опускания ложного днища перемещением ленты фильтровальной ткани, к-рая по окончании выгрузки осадка проходит через камеру регенерации. Известны друк-фильтры, кор пус к-рых может поворачиваться на 90-180° в закрепленных на его цилиндрич. части цапфах. На друк-фильтрах разделяют средне- и хорошо-фильтрующиеся суспензии в средне- и малотоннажных про-из-вах; в последнем случае в одном аппарате последовательно проводят хим. р-цию с получением суспензии, фильтрование, промывку и сушку осадка. Требования к концентрации суспензии и скорости осаждения твердой фазы ограничиваются возможностями транспортирования ее по вертикальным трубопроводам. Герметичность и возможность изготовления фильтров из любых конструкционных материалов распространяет область применения друк-фильтров на пожаро- и взрывоопасные, кристаллизующиеся и токсичные среды.
Нутч-фильтры используются для разделения хорошофиль-трующихся, нетоксичных и невзрывоопасных суспензий в малотоннажных произ-вах. Эти фильтры - открытые сосуды круглого или прямоугольного сечения с ложным днищем, служащим опорой для ФП. Ниж. пространство соединяется с вакуум-ресивером и сборником фильтрата. Осадок выгружается с помощью мешалки вручную при опрокидывании корпуса или передвижной тканью.
Патронные фильтры (рис. 8) служат для фильтрования и сгущения малоконцентрир. суспензий, в т.ч. из токсичных, пожаро- и взрывоопасных, а также агрессивных сред. Из-за неравномерности распределения осадка по высоте фильтровальных элементов скорость осаждения твердой фазы не должна превышать 2-5 мм/с; возможность промывки осадка ограничена. Данные фильтры представляют собой вертикальные цилиндрич. сосуды (иногда с паровой рубашкой) с откидывающейся либо съемной крышкой, конич. (иногда с побудителем выгрузки осадка в виде мешалки или вибратора) либо эллиптич. (для фильтров с малой пов-стью фильтрования) днищем. Внутри корпуса располагаются цилиндрич. фильтрующие элементы (патроны), прикрепленные к коллекторам в верх. или ниж. части (свечевые фильтры) либо на решетке, разделяющей корпус на две половины (верхняя для фильтрата, нижняя для суспензии).

Патроны: 1) дренажные основания - пружины или перфо-рир. трубы круглого либо звездчатого сечения, снаружи с фильтровальной рукавной тканью, плотно навитой проволокой, нитью (бобина) или набором шайб; 2) пористые трубы из керамики, металлокерамики, пластмасс, прессованных волокнистых отходов с полимеризующейся пропиткой; 3) складчатые элементы из картона, полимерных мембран, сеток.
Суспензия подается в корпус фильтра под давлением, а образовавшийся осадок толщиной до 10-15 мм сбрасывается обратным током фильтрата или его смеси с газом и оседает в конич. части аппарата, после чего цикл повторяется до заполнения конуса. Выгрузка осадка м. б. мокрой (суспензию просто сливают) или сухой (после фильтрования в корпус подают сжатый газ, выдавливают суспензию, а затем сбрасывают и выгружают осадок). Конструкция позволяет возвращать мутный фильтрат и намывать слой ФВВ.
Листовые фильтры бывают вертикальные и горизонтальные. Фильтрующий элемент - лист-рама прямоугольной или круглой (только для горизонтальных фильтров) формы из труб либо проката с вкладышем; последний выполнен из гофрир. или перфорир. листа либо полимерных (деревянных) решеток, на к-рые натягивается сетка или фильтровальная ткань. Осадок снимают гидросмывом либо вибрацией; сброс - вибрацией, ножами при вращении пакета листов, отдувкой воздухом, гидросмывом или обратным током фильтрата; выгрузка - скребками, шнеками и др. По области применения эти фильтры близки к патронным фильтрам.

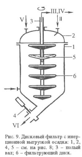
Дисковые фильтры с инерционной выгрузкой осадка (рис. 9) предназначены для осветительного фильтрования с намывным слоем ФВВ и разделения малоконцентрир. суспензий, в т.ч. токсичных, агрессивных, пожароопасных (vос < 10 мм/с). В вертикальном цилиндрич.-конич. корпусе на полом валу насажены диски (тарелки) с конич. уклоном для отвода фильтрата через вал. На верх. пов-сть крепятся дренажная решетка и ФП (сетка, ткань). Промывка осадка проводится после слива суспензии подачей жидкости на верх. тарелку и далее переливом на последующие. Промытый осадок выгружают в заполненный суспензией или пустой корпус.
Дисково-пакетные фильтры применяют только для осветительного фильтрования малоконцентрир. суспензий через картон, бумагу, нетканые материалы, картон с нанесенным слоем ФВВ из достаточно вязких горючих и агрессивных сред. В вертикальном цилиндрич. корпусе монтируется пакет дисков, стянутых по периферии шпильками и герметизируемых по наружной кольцевой пов-сти дисков и внутр. втулок; верх, пов-сть - фильтрующая. Суспензия подводится через отверстия в наружных пов-стях дисков, фильтрат отводится с дренажной пов-сти через отверстия во втулках. Последние в сборе образуют канал для отвода фильтрата. Осадок удаляют после извлечения и разборки пакета дисков.
Выбор способов разделения Разделение суспензий проводят, кроме фильтров, в отстойниках, гидроциклонах, центробежных сепараторах, осадит. и фильтрующих центрифугах, области применения к-рых достаточно индивидуальны. Непременным условием возможности использования всех перечисленных аппаратов и машин (за исключением фильтрующих центрифуг) является наличие разности плотностей твердой и жидкой фаз, т.е. скорости осаждения в гравитац. и (или) центробежном полях. Отстойники, гидроциклоны и зачастую центрифуги не позволяют добиться хорошей четкости разделения. Отстойники просты по конструкции, не требуют существ. энергозатрат и используются обычно в качестве сгустителей; гидроциклоны просты, малогабаритны и позволяют разделять поток на две суспензии с твердой фазой разл. крупности; сепараторы обеспечивают разделение малоконцентрир. суспензий с мелкодисперсной твердой фазой; центробежные машины достаточно сложны, требуют квалифицир. обслуживания, существ. затрат энергии; осадит. центрифуги применяют для разделения суспензий разной концентрации с получением достаточно обезвоженного кристаллич. осадка, не требующего промывки; фильтрующие центрифуги - концентрир. суспензий с получением хорошо обезвоженного и иногда промытого осадка.
Фильтры имеют достаточно широкую области применения (несмотря на сложность или высокую стоимость эксплуатации, необходимость замены ФП; табл.), перекрывающую почти весь диапазон областей использования указанного выше оборудования, позволяют достигнуть хорошей четкости разделения и отмывки осадка. При выборе аппаратуры учитывают особенности произ-ва, требования к продуктам разделения, св-ва суспензий и технол. возможности оборудования. По результатам анализа этих факторов проводят предварит. выбор вариантов, в т. ч. двухстадийных [гидроциклон + фильтр (центрифуга), центрифуга + патронный фильтр, патронный фильтр + фильтр = пресс и т. п.], а затем - эксперим. проверку.
ОБЛАСТИ ПРИМЕНЕНИЯ ФИЛЬТРОВ
| Типы фильтров | Фильтрационные свойства суспензии | Технологические возможности | |||||||||||
| толщина осадка, образованного за 1 мин, см | твердая фаза | качество фильтрования* | типы осадков | толщина осадка, мм | качество промывки осадка* | герметич-ность** | т-ра, 0C | давление, МПа | |||||
| размер частиц, мкм | скорость осаждения, мм/с | концентрация, г/л | |||||||||||
| Барабанные и дисковые вакуумные | 0,3-0,8 | 1,0-300 | 18 | 10-400 | 3-4 | Любые | 1-50 | 3 | +, - + | 10-90 | 0,025-0,06 | ||
| Ленточные вакуумные, тарельчатые, карусельные | 0,5-15 | 3,0-5000 | Не ограничена | 50-650 | 3 | Кроме липких | 3-100 | 5 | - +, - | 10-70(90) | 0,015-0,06 | ||
| Барабанные под давлением | 0,1-10 | 1,0-150 | Не ограничена | 20-200 | 4 | Кроме тиксотропных | 5-30 | 5 | + + | 5-150 | 0,3 | ||
| Динамические | 0,05-2,0 | 1,0-100 | 1 | 5-150 | 3-4 | Тиксотропные | 0-0,5 | 5 | + + | 120 | 0,3 | ||
| Ротационные патронные | 1,0-10,0 | 15-100 | 8 | 50-200 | 3 | Кроме липких и тиксотропных | 3-20 | — | + + | 120 | 0,6 | ||
| Ленточные фильтр-прессы | 0,5-3,0 | 10-300 | Не ограничена | 10-50 | 3 | Плотные, сжимаемые | 3-15 | 3 | - | 5-40 | 0,0005-6,0 | ||
| Фильтр-прессы | 0,005-3,0 | 0,5-200 | 25 | 0,3-400 | 4 | Кроме тиксотропных | 3-80 | 3-5 | -, - + | От -20 до 180 | 0,3-2,0 | ||
| Друк-фильтры | 0,1-10 | 2-2500 | Не ограничена | 20-800 | 4 | Пастообразные, сыпучие | 10-500 | 4-5 | + + | От -20 до 200 | 0,3-0,6 | ||
| Патронные | 0,01-0,5 | 0,5-50 | 2-5 | 0,05-20 | 5 | Любые | 3-15 | 3 | + + | От -20 до 200 | 0,3 | ||
| Листовые | 0,02-0,5 | 0,5-100 | 5 | 0,1-50 | 4 | Кроме липких | 3-20 | 3 | + + | От -20 до 90 | 0,3 (0,6) | ||
| Дисковые с инерц. выгрузкой | 0,0005-1,0 | 0,5-50 | 7-10 | 0,05-50 | 5 | Кроме липких и тиксотропных | 5-35 | 4-5 | + + | 120 | 0,6 | ||
| Дисково-пакетные | 0,005-0,1 | 0,5-25 | 1 | 0,05-1,0 | 5 | Любые | 0,5-50 | 3-4 | + + | 70 | 0,3 | ||
* 5-отличное (до 50-30 мг/л примесей); 4-хорошее (до 60); 3-удовлетворительное (до 120). ** + + всегда; + возможна; - + редко; - невозможна.
Моделирование и оптимизация процессов фильтрования. Моделирование заключается в определении параметров работы фильтров (прежде всего их производительности и общей продолжительности фильтрования) по полученным на модельных установках опытным данным (качество фильтрата, показатели кинетики фильтрования, промывки, обезвоживания и сушки осадка, его реологич. характеристики и т.д.), в анализе этих данных с учетом фильтрационных св-в суспензии и ФП, а также масштабного перехода от лаб. фильтра к промышленному.
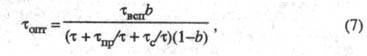
В качестве критерия оптимизации (см. Оптимизация)при расчете периодически действующих фильтров принимают их производительность или стоимость. Оптимальная продолжительность фильтрования, при к-рой достигается макс. производительность Qмакс фильтров, определяется из соотношения:

где т, тпр, тс, твсп - продолжительность соотв. цикла фильтрования, промывки и сушки осадка, вспомогат. операций. Если
,
достигается при
. Оптимальный для всей хим.-технол. системы режим фильтрования может не соответствовать режиму максимума производительности или минимума затрат.
Лабораторная техника
В лаб. практике фильтрование проводят под гидростатич. давлением, используя конусообразные воронки и складчатые фильтры из фильтровальной бумаги, либо под вакуумом на фарфоровых воронках Бюхнера, устанавливаемых на колбы Бунзена, или на фильтрующих воронках с пористым стеклом (пористые стеклянные фильтры). Конструкции лаб. стеклянных и фарфоровых воронок не позволяют надежно закреплять ФП из ткани, пористых пластмасс и металлов. Поэтому для моделирования процессов фильтрования в лабораториях используют спец. оборудование: установки с погружными и наливными воронками, т. наз. бомбу с элементом листового фильтра, небольшие модели фильтров, комплектные установки.
Лит.: Брук, Процессы промывки осадков, M., 1973; Жужиков В.А., Фильтрование, 4 изд., M., 1980; Разделение суспензий в химической промышленности, M., 1983. И.А. Кобринский.