Центрифуги
Центрифуги, аппараты для осуществления центрифугирования. Основной частью центрифуги является ротор (барабан), вращающийся с большой скоростью вокруг своей оси, благодаря чему создаётся поле центробежных сил до 20 000 g в промышленных центрифугах и до 350 000 g в лабораторных (g — ускорение свободного падения).
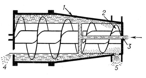
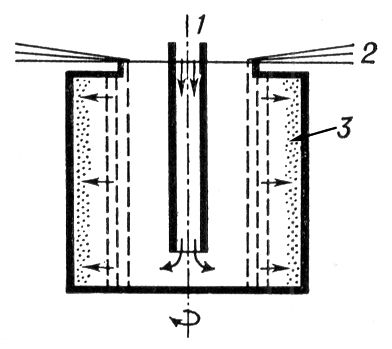
При центрифугировании по принципу отстаивания различают два типа центрифуг: 1) Осветляющие центрифуги периодического действия (рис. 1), в которых неоднородная смесь (например, суспензия) вводится в центральную часть полого ротора во время его вращения; твёрдые частицы оседают на внутренней поверхности ротора, а осветлённая жидкость (фугат) отводится из верхней его части. Образовавшийся осадок выгружается из ротора после его остановки (в некоторых случаях на ходу) через специальные сопла или через периодически открывающиеся щели (отверстия), 2) Непрерывно действующие центрифуги со шнековой выгрузкой (рис. 2), где суспензия поступает вдоль оси полого ротора; фугат выводится из широкой части ротора, а образующийся осадок шнеком транспортируется к узкому концу ротора и выбрасывается через разгрузочные отверстия.
Центрифугирование по принципу фильтрования чаще всего осуществляется в циклически работающих центрифугах (рис. 3), имеющих непрерывно вращающийся перфорированный ротор, покрытый изнутри фильтрующим материалом. Суспензия поступает в ротор порциями; после заполнения осадком части ротора подача суспензии прекращается, жидкая фаза отжимается, осадок срезается ножом и удаляется; затем снова начинается подача суспензии и цикл повторяется. Для разделения концентрированных суспензий с относительно грубодисперсной твёрдой фазой применяются центрифуги со шнековой, пульсирующей, вибрационной и др. системами выгрузки.
Степень разделения суспензий и эмульсий, а также производительность центрифуги зависят от фактора разделения Fr = w2/g (где w — угловая скорость вращения ротора, r — радиус ротора, g — ускорение свободного падения) и от величины рабочей поверхности ротора. Для повышения степени разделения и производительности центрифуги увеличивают w в пределах, допускаемых прочностью ротора и особенностями разделяемых неоднородных систем. Повышение рабочей поверхности ротора часто достигается либо увеличением его длины, либо введением в него дополнительных поверхностей.
Центрифуги используются в химической, пищевой, микробиологической, горнорудной и др. отраслях промышленности.
Лит.: Шкоропад Д. Е., Центрифуги для химических производств. М., 1975; Соколов В. И., Центрифугирование, М., 1976.
В. И. Соколов.

Рис. 2. Схема непрерывно действующей осадительной центрифуги: 1 — ротор; 2 — выгружающий шнек; 3 — подвод суспензии; 4 — отвод фугата; 5 — выгрузка осадка.

Рис. 1. Схема ротора осветляющей центрифуги: 1 — подвод суспензии; 2 — отвод фугата; 3 — осадок.

Рис. 3. Разрез горизонтальной автоматической фильтрующей центрифуги: 1 — ротор; 2 — горизонтальный вал; 3 — труба для подачи суспензии; 4 — клапан для периодической подачи суспензии; 5 — масляный цилиндр для автоматического подъема и опускания ножа; 6 — нож для срезания слоя осадка; 7 — жёлоб для удаления осадка; 8 — вибратор.