Экстракция
Экстракция (от позднелат. extractio — извлечение), экстрагирование, процесс разделения смеси жидких или твёрдых веществ с помощью избирательных (селективных) растворителей (экстрагентов).
Процесс экстракции включает 3 последовательные стадии: смешение исходной смеси веществ с экстрагентом; механическое разделение (расслаивание) двух образующихся фаз; удаление экстрагента из обеих фаз и его регенерацию с целью повторного использования. После механического разделения получают раствор извлекаемого вещества в экстрагенте (экстракт) и остаток исходного раствора (рафинат) или твёрдого вещества. Выделение экстрагированного вещества из экстракта и одновременно регенерация экстрагента производится дистилляцией, выпариванием, кристаллизацией, высаливанием и т. п.
Достоинствами экстракции являются низкие рабочие температуры, рентабельность извлечения веществ из разбавленных растворов, возможность разделения смесей, состоящих из близкокипящих компонентов, и азеотропных смесей, возможность сочетания с другими технологическими процессами (ректификацией, кристаллизацией), простота аппаратуры и доступность её автоматизации. Недостатком экстракции в ряде случаев является трудность полного удаления экстрагента из экстрагируемых веществ.
Экстракция подчиняется законам диффузии и равновесного распределения. При экстракции из жидкостей после смешения исходного раствора с экстрагентом и расслоения образовавшейся смеси концентрация у экстрагируемого вещества (В) в фазе экстракта больше его концентрации х в фазе рафината. При взаимной нерастворимости экстрагента (С) и растворителя (Л) исходного раствора зависимость у от х для равновесной системы (для которой у обозначается как ур) изображается в диаграмме у — х (рис. 1, а). Если раствор разбавлен, а вещество В в экстракте находится в неассоциированном и недиссоциированном состояниях, отношение
(коэффициент распределения) — величина постоянная, не зависящая от концентрации, и линия равновесия в диаграмме у — х является прямой; в противном случае Kp — функция концентрации, и линия равновесия криволинейна. Kp всегда зависит от температуры, практически не зависит от давления; определяется он экспериментальным путём.
Вследствие кратковременности и несовершенства акта смешения экстрагента и исходного раствора действительная (рабочая) концентрация у всегда меньше равновесной ур. Степень приближения у к ур характеризует эффективность экстракции, а разность yp—y является его движущей силой.
В результате однократной экстракции возможна сравнительно небольшая степень извлечения вещества В из исходного раствора, поэтому прибегают к многократному повторению актов смешения и последующего расслаивания взаимодействующих фаз при их встречном движении (рис. 1, б). Если в исходном растворе концентрация вещества В уменьшается от x1 до x2, то его концентрация в фазе экстракта возрастает от 0 до y1. Из уравнения материального баланса экстракции:
Dy1=W (x1- x2) = М (а)
(где D и W — соответственно расходы чистого экстрагента и чистого растворителя) можно определить расход экстрагента:

Уравнение (а) описывает прямую (см. рис. 1, а), проходящую через точки с координатами (x1,0) и (x1, y1). В приведённых выражениях x1 и y1— концентрации относительно чистого растворителя А и чистого экстрагента С. Очевидно, что при прочих равных условиях расход экстрагента растет по мере уменьшения концентрации (x2) вещества В в рафинате и уменьшения его концентрации y1 в экстракте.
Кинетика экстракции описывается общим уравнением массообмена. M = K
cFt, где М — количество экстрагированного вещества, К — коэффициент массопередачи,
с — средняя разность концентраций экстрагируемого вещества в обеих фазах, F — величина межфазной поверхности, t — время.
Величина
с однозначно определяется заданными концентрациями х, у и ур, поэтому для достижения больших значений М стремятся увеличить К путём турбулизации потоков взаимодействующих фаз и F — путём диспергирования одной из фаз (экстрагента или исходного раствора) на мелкие капельки. Точное значение К пока не может быть рассчитано теоретическим путём, поэтому эффективность процесса экстракции выражают, как и при ректификации или абсорбции, числом ступеней равновесия (идеальных тарелок). Графическое определение числа ступеней равновесия показано на рис. 1, а. В случае частичной растворимости растворителя А и экстрагента С равновесие системы изображается в плоскости равностороннего треугольника (рис. 1, в). Каждой точке внутри треугольника соответствует тройная смесь, в которой концентрации компонентов А, В, С измеряются длинами перпендикуляров, опущенных на противолежащие стороны. Под кривой EG (бинодальной кривой) расположена область гетерогенных смесей, а над кривой — гомогенных растворов. Процессы экстракции, поскольку в них чередуются акты смешения и расслаивания фаз, протекают только в гетерогенной области. Смешав исходный раствор с некоторым количеством экстрагента, получим тройную гетерогенную смесь Р, которая расслаивается на экстракт Q и рафинат R с концентрацией экстрагируемого вещества В. Если теперь смешать рафинат со свежей порцией экстрагента, получим новую гетерогенную смесь P1, которая расслоится на экстракт Q1 и рафинат R1 с более низкой концентрацией Q1. Положение прямых QR и Q1R1, называется конодами, определяется для каждой системы экспериментальным путём. Продолжая акты смешения и расслаивания, можно добиваться дальнейшего понижения концентрации компонента В в рафинате, т. е. повышения степени экстракции. Совершенно очевидно, что число построенных конод (их может быть сколько угодно) равно числу ступеней равновесия. В приведённом примере периодической экстракции после каждого акта смешения и расслаивания падает концентрация В как в рафинате, так и в экстракте. Для повышения концентрации вещества В в экстракте и большего его исчерпывания из рафината во многих случаях прибегают к экстракции с так называемой обратной флегмой. Сущность этого процесса сводится к частичному отделению экстрагента от экстракта и исходного растворителя от рафината и обратному возвращению долей этих фракций в аппарат навстречу уходящим потокам.
Для экстракционного разделения двух компонентов (B1 и B2), особенно с близкой растворимостью в исходном растворителе, часто используют два экстрагента с различной селективностью. Исходный раствор поступает в среднюю часть экстрактора, один из экстрагентов — в верхнюю часть, другой — в нижнюю. В результате компонент B1 переходит в фазу одного экстрагента, компонент B2 — в фазу другого (рис. 2).
Наиболее эффективна непрерывная экстракция, осуществляемая в многоступенчатых аппаратах (экстракторах) при противотоке исходного раствора и экстрагента. В этом случае заданная степень экстракции достигается при наименьшем расходе экстрагента. Многоступенчатые экстракторы (см. рис. 3, а, б, в) обычно представляют собой вертикальные колонны, разделённые поперечными перфорированными тарелками, вращающимися дисками, мешалками и т. п. на ступени (секции). В каждой ступени происходит перемешивание взаимодействующих фаз и их расслаивание. Т. о., исходный раствор и экстрагент многократно перемешиваются и расслаиваются. Эффективность этих аппаратов оценивается кпд отдельных ступеней или высотой аппарата, эквивалентной одной ступени равновесия — теоретической тарелке (см. Ректификация).
Значит, распространение получили экстракторы ситчатые и с механическим перемешиванием. В ситчатых (рис. 3, а) ступени разграничены перфорированными горизонтальными тарелками и сообщаются между собой переливными трубками. Одна из контактирующих жидкостей, проходя через отверстия тарелок, диспергируется, чем создаётся большая поверхность контакта с встречной жидкостью, протекающей по переливным трубкам в виде сплошной фазы. Экстракторы с механическим перемешиванием делятся на роторно-дисковые (рис. 3, б) и с чередующимися смесительными и отстойными насадочными секциями (рис. 3, в). В роторно-дисковых экстракторах вращающиеся диски перемешивают и диспергируют жидкости, после чего они расслаиваются. В экстракторах со смесительными и насадочными секциями лопастные или турбинные мешалки размещены на общем вертикальном валу попеременно со слоями неподвижной насадки (кольца Рашига, спирали, пакеты сеток и пр.). Перемешанные жидкости, пройдя через слои насадки, расслаиваются. Применяются также экстракторы с непрерывным контактом взаимодействующих фаз (распылительные, насадочные), не разделённые на отд. ступени, их эффективность при достаточной высоте измеряется несколькими ступенями. Распылительные экстракторы (рис. 3, г) снабжены соплами, инжекторами и т. п. для диспергирования взаимодействующих жидкостей. Такие аппараты отличаются простотой и высокой производительностью, но сравнительно невысокой эффективностью. Несколько более эффективны, но менее производительны насадочные экстракторы (рис. 3, д), наполненные кольцами Рашига, кольцами Паля и др. Часто используются ящичные экстракторы, которые разделены вертикальными перегородками на ступени, каждая из которых состоит из смесительной и отстойной камер (рис. 4). Расположенные в смесительной камере турбинные мешалки перемешивают жидкости и одновременно транспортируют их из ступени в ступень.
Такие экстракторы могут работать при любом соотношении исходного раствора и экстрагента, сохраняя при этом рабочие концентрации жидкостей при прекращении процесса.
Для экстракции неустойчивых соединений (например, антибиотиков) используются центробежные экстракторы, ротор которых состоит из набора цилиндров, перфорированных с обоих концов, или спиральных лент. Исходный раствор и экстрагент движутся навстречу друг другу, причём более тяжёлая жидкость — от центра к периферии, а более лёгкая — в обратном направлении. Контакт жидкостей происходит на пути их движения, а диспергирование — при прохождении через перфорированные части цилиндров.
Экстракция из твёрдых веществ изображается диаграммой фазового равновесия, показанной на рис. 1, а. В этом случае в зависимости от конструкции используемого аппарата экстрагент проходит либо через слой неподвижной твёрдой фазы, либо перемешивается с нею, либо движется в противотоке к твёрдой фазе, перемещаемой различными транспортными устройствами. Применяется, например, непрерывный противоточный экстрактор (рис. 5), где твёрдая фаза перемещается перфорированными шнеками вдоль U-образного цилиндрического корпуса навстречу экстрагенту. Экстракт отводится через процеживатель — цилиндрический лист с вертикальными прорезями.
Экстракция широко применяется в химической, нефтеперерабатывающей, металлургической, фармацевтической, пищевой и др. отраслях промышленности, например для извлечения ароматических углеводородов из нефтепродуктов, масляных фракций из сернистых нефтей, фенола из сточных вод, антибиотиков из культуральных жидкостей, металлов (в т. ч. редких) или их соединений из руд, многих природных органических соединений из растительного сырья (сахара из свёклы и тростника, масла из соевых бобов и масличных семян, таннина из древесной коры, фармацевтических препаратов из корней и листьев растений и т. п.).
Н. И. Гельперин, В. Л. Пебалк.
Экстракция в аналитической химии и радиохимии. Для химического анализа элементов, а также при разделении, концентрировании и очистке радиоактивных изотопов наибольшее применение нашла экстракция из водных растворов. Экстрагентами при этом служат спирты, кетоны, простые и сложные эфиры, амины, эфиры фосфорной кислоты, хелатообразующие соединения и др. Экстрагенты используют в смесях с разбавителями — жидкостями, которые служат для улучшения физеских (вязкость, плотность) или экстракционных свойств экстрагентов. Разбавителями могут быть керосин, бензол, хлороформ и т. п.
Основные направления экстракции в аналитической химии следующие: 1) избирательное извлечение целевых элементов из смесей для количеств, анализа; 2) определение содержания примесей в исследуемых веществах, что особенно важно в технике получения особо чистых веществ. Достоинствами экстракции в аналитической химии являются: высокая избирательность, простота осуществления, универсальность (т. е. возможность выделения практически любого элемента). В радиохимии экстракция используется главным образом для очистки различных радиоактивных веществ от примесей; извлечения и разделения радиоактивных изотопов из облученных мишеней; выделения естественных радиоактивных изотопов из различных объектов и т. д.
Достоинством экстракции при работе с короткоживущими радиоактивными изотопами является также экспрессность. В таких процессах экстрагенты должны обладать радиационной устойчивостью. Для обеспечения безопасности человека при экстракции радиоактивных веществ применяют дистанционное управление.
Во многих случаях использование экстракции в аналитической химии и радиохимии сочетают с другими методами (хроматографией, соосаждением, дистилляцией и т. д.).
С. С. Бердоносов.
Лит.: Пратт Г. Р. К., Экстракция жидкость — жидкость в теории и практике, в сборнике: Жидкостная экстракция, М., 1958; Фомин В. В., Химия экстракционных процессов, М., 1960; Моррисон Дж., Фрейзер Г., Экстракция в аналитической химии, пер. с англ., Л., 1960; Экстракция в аналитической химии и радиохимии. [Сб. ст.]. под ред. Ю. А. Золотова, М., 1961; Шкоропад Д. Е., Лысковцов И. В., Центробежные жидкостные экстракторы, М., 1962; Зюлковский 3., Жидкостная экстракция в химической промышленности, пер. с польск., Л., 1963; Трейбал P., Жидкостная экстракция, пер. с англ., М., 1966; Броунштейн Б. И., Железняк А. С., Физико-химические основы жидкостной экстракции, М.— Л., 1966; 3олотов Ю. А., Кузьмин Н. М., Экстрактционное концентрирование, М., 1971; Химия процессов экстракции, М., 1972; Аксельруд Г. А., Лысянский В. М., Экстрагирование, Л., 1974.

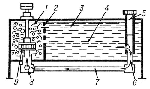
Рис. 4. Ящичный экстрактор: 1 — камера смешения; 2 — жалюзийная перегородка; 3 — отстойная камера; 4 — граница раздела фаз; 5, 6 — регулирующие трубки; 7 — рециркуляционная трубка; 8 — всасывающий коллектор; 9 — турбинная мешалка.

Рис. 5. Непрерывный противоточный экстрактор: 1 — корпус; 2 — перфорированные шнеки; 3 — ввод твердой фазы; 4 — отвод твердой фазы; 5 — ввод экстрагента; 6 — отвод экстрагента; 7 — процеживатель.

Рис. 1: а — диаграмма равновесия для систем, в которых экстрагент и растворитель исходного раствора взаимно нерастворимы; б — схема однократной экстракции при встречном движении исходного раствора и экстрагента; в — диаграмма равновесия для систем, в которых экстрагент и растворитель исходного раствора частично растворимы.

Рис. 2. Схема установки непрерывного действия для экстракции двумя растворителями: 1 - колонна; II - установка для регенерации экстрагента SB2, III- установка для регенерации экстрагента SB1, IV- дополнительные смесители (в случае работы с флегмой); 1,2,3, ..., n-1, n-номера ступеней: L - исходный раствор; N - сырой экстракт; Rn - сырой рафинат; B1, B2 - экстрагируемые компоненты.

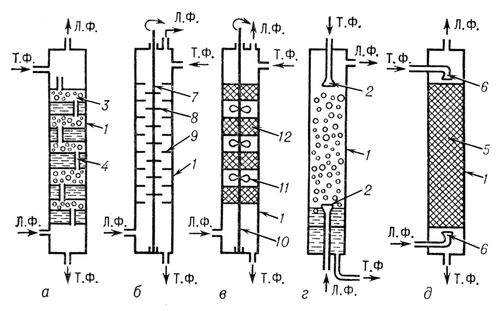
Рис. 3. Схемы экстракционных колонн: а — колонна с ситчатыми тарелками; б — роторно-дисковый экстрактор; в — колонна с чередующимися смесительными и отстойными насадочными секциями; г — распылительная колонна; д — насадочная колонна; 1 — колонна; 2, 6 — распылители; 3 — ситчатая тарелка; 4 — переливные трубки; 5, 12 — насадки; 7, 10 — валы; 8 — плоский ротор; 9 — кольцевые перегородки; 11 — мешалки;