§ 3. Кислородные соединения азота
Для азота известны окислы, по составу формально отвечающие всем валентностям от . единицы до пяти. Их формулы и названия сопоставлены ниже:
N2 O – закись азота
NO – окись азота
N2 O3 – азотистый ангидрид
NO2 – двуокись азота
N2 O5 – азотный ангидрид
Азотный ангидрид пpeдcтaвляeт собой твердое вещество, а остальные окислы при обычных условиях газообразны.
1) За исключением NO2 , все окислы азота ядовиты. При взаимодействии с раскаленной медью они полностью разлагаются, образуя СuО и N2 . По количеству окиси меди и азота может быть установлена формула исходного окисла.
Закись азота может быть получена разложением азотнокислого аммония, протекающим около 200 °С по уравнению:
NH4 NO3 = 2Н2 О + N2 O
Структура молекулы N2 O соответствует формуле N≡N = O. 3акись азота представляет собой бесцветный газ (т. пл. –91 °С, т. кип. –89°С) со слабым приятным запахом. В воде она довольно хорошо растворима, но химически с ней не взаимодействует. Выше 500°С закись азота разлагается по реакции:
2N2 O = 2N2 + О2
Поэтому при повышенных температурах она действует как сильный окислитель. Например, тлеющая лучина вспыхивает в ней.
Так как температура человеческого тела далеко недостаточна Для разложения N2 O, этот газ, поддерживающий горение, дыхания не поддерживает. Вдыхание закиси азота в смеси с воздухом вызывает характерное состояние опьянения, сопровождающееся значительным ослаблением болевых ощущений. На этом основано использование N2 O при операциях в качестве наркотика.
2) Молекула N2 O линейна [d(NN) = 1,13 А, d(N0) = 1,19 А]. Закись азота является постоянной составной частью воздуха (0,00005% по объему). Один объем воды поглощает при 0°С около 1,3, а при 25 °С – 0, 6 объема N2 O.
Образование окиси азота из элементов при обычных условиях не происходит. Лишь примерно с 1200 °С начинает заметно протекать обратимая реакция:
N2 + О2 + 43 ккал < = >2NO
Как видно из рис. 117, около 1500°С равновесие еще почти нацело смещено влево. Устанавливается оно при этих условиях чрезвычайно медленно: для достижения равновесного состояния требуется30 часов. Напротив, более высоким температурам отвечает не только большее содержание N0 в газовой смеси, но и несравненно быстрейшее достижение равновесия, которое при 3000°С устанавливается за миллионные дбли секунды. По Этим причинам NO всегда образуется в атмосфере при грозовьц разрядах.
Несмотря на эндотерйичность окиси азота, при обычных условиях она вполне устойчива. В лабораториях ее чаще всего получают по реакции:
3Cu + 8HNO3 = 3Cu(NO3 )2 + 2NO + 4Н2 О
Окись азота представляет собой бес цветный газ (т. пл. –164 °С, т. кип. –151°С), сравнительно малорастворимый в воде и химически с ней не взаимодействующий. Свой кислород она отдает лишь с трудом. Поэтому горящая лучина в атмосфере NO гаснет.
Наиболее характерны для окиси азота реакции присоединения. Так, при взаимодействии ее с хлором по реакции
2NO + Сl2 = 2NOCl
образуется хлористый нитрозил (Сl–N = O), представляющий собой желтый газ (т. пл. – 64°С, т. кип. –6°С). Непосредственно соединяется NO и с кислородом. Известен также ряд комплексных соединений, содержащих NO во внутренней сфере.
3) Молекула NO характеризуется расстоянием d(NO) = 1,15 А и очень малой полярностью (длина диполя 0,03 А). Сто объемов воды растворяют при 0°С около 7 объемов окиси азота. В жидком и твердом состояниях она имеет синий цвет.
4) Если подсчитать общее число внешних электронов в молекуле NO, то получается цифра 11 (5 у азота и 6 у кислорода). Так как валентная связь осуществляется электронной парой, последняя должна быть системой более устойчивой, чем неспаренный электрон. Можно поэтому ожидать, что молекулы с нечетным числом электронов («нечетные» молекулы) будут склонны к димеризации (т. е. попарному сочетанию). Как правило, это и наблюдается уже при обычных условиях. К очень немногочисленным исключениям относится окись азота, проявляющая заметные признаки димеризации по схеме
NO + NO < = > N2 O2
лишь при низких температурах. В жидком состоянии при –163 °С содержание молекул N2 O2 достигает 95, а твердая окись азота состоит, по–видимому, уже только из таких молекул.
Спокойно протекающая реакция соединения NO с кислородом воздуха ведет к образованию двуокиси азота по уравнению:
2NO + O2 = 2NO2 + 27 ккал
Двуокись азота представляет собой бурый газ, легко сгущающийся в жидкость, кипящую при +21 °С. Будучи охлаждена до –11 °С, жидкость эта застывает в бесцветную кристаллическую массу. Определение молекулярного веса по плотности пара дает цифры, лежащие между простым (14 + 2 ·16 = 46) и удвоенным (92) его значениями, причем цифры эти зависят от температуры опыта, уменьшаясь при ее повышении и увеличиваясь при понижении.
5) Реакция присоединения кислорода к NO особенно интересна тем, что она является одним из очень немногих известных случаев, когда при повышении температуры химический процесс не только не ускоряется, но даже несколько замедляется. Объяснение этой аномалии скорости исходит из того, что в реакцию вступают лишь димерные молекулы N2 O2 , вероятность возникновения которых с повышением температуры очень быстро уменьшается.
Такие результаты обусловлены наличием равновесия между молекулами двуокиси азота (NO2 ) и азотноватой окиси (N2 O4 ). Результаты определения молекулярного веса около 140 °С показывают, что при этих условиях в газе имеются только молекулы двуокиси азота, тогда как при более низких температурах они частично соединяются попарно, образуя молекулы N2 O4 . Так как процесс образования из нейтральных молекул одного и того же вещества более сложных частиц с удвоенным, утроенным и т. д. молекулярным весом называется полимеризацией, можно сказать, что ниже 140 °С NO2 частично полимеризуется (точнее – димеризуется) в N2 O4 . Это происходит тем в большей степени, чем ниже температура, и вблизи точки замерзания (–11°С) вещество состоит уже исключительно из молекул N2 O4 . Напротив, при нагревании азотноватой окиси она диссоциирует на простые молекулы.
Каждой промежуточной между –11 °С и +140сС температуре отвечает определенное состояние равновесия обратимой реакции:
полимеризация–––––––––––––––––>>>
NO2 + NO2 < = > N2 O4 + 13 ккал
<<<––––––––––––––––
диссоциация
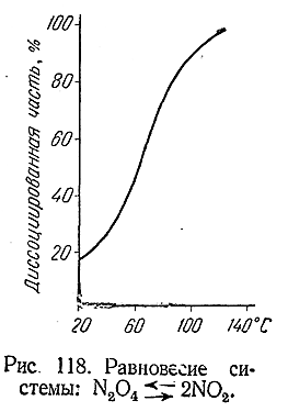
Положения этого равновесия при различных температурах показаны на рис. 118. Так как N2 O4 бесцветна, a NO2 имеет красно–бурый цвет, за смещением равновесия при нагревании или охлаждении газовой смеси легко следить по изменению ее окраски.
Склонность молекул O = N = O к взаимодействию друг с другом обусловлена наличием в каждой из них одного непарного электрона (при атоме азота). Сочетание двух таких электронов и создает связь N–N в молекуле N2 O4 . Неустойчивость последней является следствием непрочности этой связи. Пространственное строение молекул NO2 и N2 O4 показано на рис. 119.



Двуокись азота является очень сильным окислителем. Уголь, сера, фосфор и т. п. энергично сгорают в ней. С парами многих органических веществона дает взрывчатые смеси.
6) Молекула NO2 характеризуется малой полярностью (длина диполя 0,08А). Выше 140 °С реакция образования двуокиси азота из N0 и кислорода становится заметно обратимой. Положения ее равновесия при различных температурах показаны на рис. 120. Как видно из последнего, выше 620 °С двуокись азота под обычным давлением существовать уже не может.
Взаимодействие NO2 с NO по обратимой реакции
NO2 + NO < = > N2 O3 + 10 ккал
ведет к частичному образованию азотистого ангидрида (N2 O3 ), который при охлаждении системы может быть получен в виде синей жидкости. Строение азотистого ангидрида выражается формулой O = N–О–N = O. В обычных условиях он неустойчив и равновесие приведенной выше реакции сильно смещено влево.
Растворение NO2 (или N2 O4 ) в воде сопровождается образованием азотной (HNO3 ) и азотистой (HNO2 ) кислот:
2NO2 + Н2 О = HNO3 + HNO2
Тогда как азотная кислота в растворе вполне устойчива, азотистая легко распадается по обратимой реакции:
2HNO2 < = > H2 O + N2 O3 < = > H2 O + NO + NO2
поэтому практически взаимодействие NO2 с водой идет по уравнению:
3NO2 + Н2 О = 2HNO3 + NO
Если растворение двуокиси азота вести в присутствии избытка кислорода, то выделяющаяся NO окисляется им до NO2 . При этих условиях можно полностью перевести двуокись азота в азотную кислоту по суммарной схеме:
4NO2 + 2Н2 О + O2 = 4HNO3
Подобным же образом (с образованием солей HNO3 ) протекает растворение NO2 в щелочах при наличии избытка кислорода. Напротив, в отсутствие последнего по реакции, например
2NO2 + 2NaOH = NaNO3 + NaNO2 + H2 O
образуется смесь солей азотной и азотистой кислот (в отличие от самой HNO2 соли ее в растворе устойчивы).
Соли азотистой кислоты называются азотистокислыми или нитритами. Подобно самому аниону NO2 , большинство их бесцветно. Почти все нитриты хорошо растворимы в воде (труднее других – AgNO2 ). Чаще всего встречается в практике NaNO2 , который получают обычно из окислов азота по реакции:
NO2 + NO + 2NaOH = 2NaNO2 + Н2 O
Все соли азотистой кислоты весьма ядовиты.
Сама HNO2 известна только в разбавленных водных растворах. По силе она лишь немного превышает уксусную кислоту.
Наиболее характерны для азотистой кислоты сильно выраженные окислительные свойства, причем восстанавливается она в большинстве случаев до NO. С другой стороны, действием сильных окислителей азотистая кислота может быть окислена до азотной. Типичные примеры характерных для нее окислительно–восстановительных процессов приводятся ниже:
2HNO2 + 2HJ = J2 + 2NO + 2Н2 О
2НМnО4 + 5HNO2 = 2Mn(NO3 )2 + HNO3 + ЗН2 О
Обе эти реакции протекают в кислой среде.
7) Для азотистой кислоты (K = 5 ·10–4) вероятно наличие двух способных переходить друг в друга структур:

Нитриты активных металлов (например, NaNO2 ) построены, по–видимому, в соответствии с первой из них, нитриты малоактивных (например, AgNO2 ) – со второй. Органические производные известны для обеих форм HNO2 .
Основной продукт взаимодействия NO2 с водой – азотная кислота является одним из важнейших химических соединений. Она потребляется при выработке взрывчатых веществ, органических красителей, пластических масс и в ряде других производств. Для получения азотной кислоты могут быть использованы три технических метода, причем исходными продуктами служат соответственно: а) аммиак, б) воздух и в) селитра.
Сущность первого метода заключается в каталитическом окислении аммиака кислородом воздуха. Как было выяснено еще в 1900 г., при быстром пропускании смеси NH3 с избытком воздуха над платиновым катализатором (нагретым до 800 °С) по реакции
4NH3 + 5О2 = 6Н2 О + 4NO + 216 ккал
образуется окись азота. Последняя переводится затем в NO2 и HNO3 . Каталитическое окисление аммиака является в настоящее время основным методом получения азотной кислоты.
8) Схема установки для окисления аммиака показана на рис. 121 (А –теплообменник). Катализатор из сплава платины с 5–10% родия оформляют в виде тонкой сетки, сквозь которую ' и продувается смесь исходных газов. На практике пользуются смесью аммиака с воздухом, содержащей не более 12%
NH3 по объему. Максимальный выход окиси азота составляет около 98% от теоретического.
Второй метод (т. н. дуговой) – получение азотной кислоты «сжиганием воздуха»–был разработан в 1905 г. Как видно из рис. 117, более или менее выгодное положение равновесия синтеза NO из элементов достигается лишь при очень высоких температурах. С другой стороны, устанавливается оно при этих условиях практически моментально. В связи с этим задача.технического осуществления синтеза NO формулировалась следующим образом: необходимо было изыскать способ нагреть воздух до возможно высокой температуры и затем очень быстро охладить газовую смесь ниже 1200°С с тем, чтобы не дать возможности образовавшейся окиси азота распасться обратно на азот и кислород.

При разрешении этой задачи в качестве нагревателя была использована электрическая дуга, дающая температуры около 4000°С. Если такую дугу поместить между полюсами сильного электромагнита, то пламя ее образует огненный диск. При быстром пропускании сквозь него струи воздуха последний в момент соприкосновения с пламенем очень сильно нагревается, а затем тотчас же охлаждается ниже 1200°С. В процессе дальнейшего охлаждения газовой смеси N0 присоединяет кислород с образованием NO2 , из которой затем и может быть получена азотная кислота.
Хотя при техническом осуществлении дугового метода выход NO составляет лишь около 2% по объему, однако это не играет особой роли ввиду бесплатности исходного сырья – воздуха. Гораздо более важным недостатком дугового метода является большой расход электроэнергии. Именно поэтому его промышленное значение в настоящее время невелико.
Наконец, третий способ получения азотной кислотыиз селитры – являлся в прошлом единственным, но теперь почти не имеет промышленного значения. В его основе лежит взаимодействие селитры с концентрированной серной кислотой:
NaNO3 + H2 SO4 = NaHSO4 + HNO3
Реакция эта легко протекает при нагревании.
9) Очень концентрированная (98%) HNO3 может быть получена взаимодействием воды или разбавленной кислоты с жидкой N2 O4 и кислородом под давлением 50 ат. Этот «прямой синтез» осуществляют обычно при 70 °С. Получаемая кислота находит использование в реактивной технике.
10) Строение молекулы азотной кислоты может быть сокращенно выражено формулой HONO2 . Значение d(NO) для связи с гидроксильным кислородом составляет 1,41 А, а для связей с двумя другими кислородами–1,22 А. Угол ONO в группе NO2 равен 130 °С. Ион NO3 – имеет структуру плоского равностороннего треугольника с азотом в центре [d(N0) = l,21 A].
Безводная азотная кислота представляет собой бесцветную (при хранении быстро желтеющую) жидкость, которая кипит при 86 °С. Кипение сопровождается частичным разложением по реакции:
4HNO3 = 2Н2 О + 4NO2 + О2
Растворяясь в перегнавшейся кислоте, двуокись азота сообщает ей желтую или красную (в зависимости от количества NO2 ) окраску. Так как NO2 постепенно выделяется из раствора, подобная азотная кислота называется дымящей. Разложение 100%–ной HNO3 медленно идет на свету уже при обычных температурах.
С водой HNO3 смешивается в любых соотношениях. Применяемая в лабораторной практике концентрированная азотная кислота содержит около 65% HNO3 и имеет плотность 1,40. По составу она приблизительно соответствует формуле HNO3· 2H2 O.
С химической стороны азотная кислота характеризуется прежде всего сильно выраженными окислительными свойствами.
При этом основным конечным продуктом восстановления не очень крепкой HNO3 является NO, а концентрированной – NO2 .
11) Основным первоначальным продуктом восстановления крепкой НNО3 является, по–видимому, азотистая кислота. Если процесс проводится в не очень крепких растворах, то из образующихся при ее распаде газов выделяется только N0 (так как NO2 , реагируя с водой, дает НNО3 и NO). Однако при повышении концентрации большое значение приобретает обратимость реакции
3NO2 + H2 O < = > 2HNO3 + NO + 33 ккал
При эквивалентных соотношениях –реагирующих веществ равновесие ее смещено вправо, но последовательное повышение концентрации HNO3 все более смещает его влево Поэтому основным конечным продуктом восстановления концентрированной НNО2 и является на NO, a NO2 .
Все часто встречающиеся в практике металлы, за исключением Au и Pt, переводятся крепкой азотной кислотой в окислы. Если последние растворимы в HNO3 , то образуются азотнокислые соли. По этой схеме азотная кислота растворяет и такие стоящие в ряду напряжений правее водорода металлы, как Сu, Hg и Ag.
Некоторые бурно реагирующие с разбавленной азотной кислотой металлы (например, Fe) практически не взаимодействуют с концентрированной (и особенно – дымящей). Обусловлено это тем, что на их поверхности образуется очень тонкий, но плотный защитный слой нерастворимого в кислоте окисла. Благодаря такой «пассивности» железа концентрированную HNO3 можно перевозить в стальных цистернах.
Весьма энергично действует крепкая (особенно – дымящая) азотная кислота на некоторые металлоиды. Так, сера окисляется ею при кипячении до H2 SO4 , уголь – до СO2 и т. д. Животные и растительные ткани при действии HNO3 разрушаются.
Для отличия азотной кислоты от азотистой важно их отношение к йодистому водороду, В то время как HNO3 тотчас окисляет его до иода, разбавленная азотная кислота на HJ не действует. Напротив, концентрированная HNO3 окисляет не только HJ, но и НСl. Однако в последнем случае реакция обратима:
HNO3 + 3HCl < = >2H2 O + NOCl + Сl2
Смесь концентрированной HNO3 с концентрированной НСl называют обычно «царской водкой», Она действует значительно энергичнее, чем каждая из этих кислот в отдельности. Так, даже Au и Pt легко растворяются в царской водке с образованием соответствующих хлористых соединений по схемам:
Au + HNO3 + 3HCl = AuCl3 + NO + 2H2 O
3Pt + 4HNO3 + 12HCl = 3PtCl4 + 4NO + 8H2 O
Активным действующим началом царской водки является, с одной стороны, хлор в момент выделения с другой – легко отдающий его хлористый нитрозил.
Подобно окислительной, очень сильно выражена у HNO3 и кислотная функция. Так как при разбавлении раствора первая из них ослабляется, а вторая усиливается, реакции многих металлов с разбавленной HNO3 протекают по общему типу, т. е. с вытеснением водорода. Однако последний не выделяется, а расходуется на восстановление избытка HNO3 до производных более низкой валентности азота, вплоть до NНз. Как правило, получается смесь различных продуктов восстановления.
12) Характер конечных продуктов восстановления HNO3 сильно зависит от ряда факторов – концентрации кислоты, природы восстановителя, температуры и т. д. Как влияет концентрация самой кислоты (при равных прочих услозиях),видно из приводимого в качестве примера рис. 122. Кипячением в щелочной среде с порошком алюминия нитраты могут быть количественно восстановлены до аммиака. Реакция идет по уравнению, например:
8Al+3NaNO3 +5NaOH + 2H2 O = 8NaAlO2 +3NH3 .
В качестве очень сильной одноосновной кислоты HNO3 образует вполне устойчивые при обычных условиях соли. Подобно самому иону NO3 , большинство нитратов бесцветно. Почти все азотнокислые соли хорошо растворимы в воде. Многие из них находят разнообразное практическое использование.

При достаточном нагревании нитратов они разлагаются, причем характер распада зависит от природы катиона. Соли наиболее активных металлов (расположенных в ряду напряжения левее Mg) с отщеплением кислорода переходят в соответствующие нитриты, соли менее активных (Mg–Cu) распадаются с образованием окислов и еще менее активных (правее Cu) – свободных металлов. Примерами могут служить реакции:
2NaNO3 = 2NaNO2 + O2
2Pb(NO3 )2 = 2PbO + 4NO2 + O2
2AgNO3 = 2Ag + 2NO2 + O2
Неодинаковый характер протекания этих реакций обусловлен различной устойчивостью соответствующих нитритов и окислов при температурах распада: в этих условиях для Na еще устойчив нитрит, для Рb он уже неустойчив, но еще устойчив окисел, а для Ag неустойчиво и то и другое соединение, вследствие чего и происходит выделение свободного металла.
Ввиду легкости отдачи нитратами кислорода при высоких температурах, смеси их с горючими веществами сгорают чрезвычайно быстро. На этом основано применение нитратов в пиротехнике и для изготовления черного пороха.
13) Черный порох представляет собой тесную смесь КNО3 с серой и углем, причем «нормальный» порох (68% KNO3 , 15% S и 17% С) приблизительно отвечает составу 2KNO3 +3C + S. Горение его протекает в основном по уравнению:
2KNO3 + 3C + S = N2 + 3CO2 + K2 S + 169 ккал.
Отвечающий азотной кислоте ангидрид может быть получен взаимодействием NO2 с озоном:
2NO2 + O3 = O2 + N2 O5
Азотный ангидрид (N2 O5 ) представляет собой бесцветные, очень летучие кристаллы (т. возг. 32 °С). Последние образованы ионами NO2 +и NO3 , а в парах азотный ангидрид состоит из отдельных молекул, строение которых отвечает формуле O2 N–О–NO2 . Он крайне неустойчив и уже при обычных условиях медленно распадается на двуокись азота и кислород (иногда распад этот настолько ускоряется, что приобретает даже взрывной характер). Будучи сильным окислителем, N2 O5 бурно реагирует со многими веществами. С водой он образует азотную кислоту.