Весы

ВЕСЫ, приборы для определения массы тел. Весами называют иногда также приборы для измерения др. физ. величин, преобразованных для этого в силу или момент силы (напр., весы Кавендиша, Кулона, токовые). Весы широко применяют во всех отраслях народного х-ва и в научных исследованиях как осн. ср-во взвешивания при определении расхода или кол-ва сырья, топлива, готовой продукции и т. п., в целях их учета, проведения хим., техн. и др. анализов, контроля технол. процессов и автоматизации управления ими и т.д.

Массу М тела находят преим. уравновешиванием его силы тяжести Р (Р =1069-42.jpg, где1069-43.jpg-ускорение своб. падения в месте установки весов) либо момента этой силы, действующих на измерительную (подвижную) часть весов, известной противодействующей, или уравновешивающей, силой (моментом). При наиб. точном компенсационном методе взвешивания уравновешивающая сила, создаваемая, напр., гирями, возвращает подвижную часть весов в исходное положение равновесия, а весы служат компаратором (сравнивающим устройством). При прямом методе измерений (масса тела принимается равной показаниям весов) противодействующая сила возникает в результате отклонения подвижной части от положения равновесия под действием силы тяжести взвешиваемого тела. Во мн. типах весов используют оба метода взвешивания; напр., осн. доля силы Р уравновешивается гирями, а остальная - отклонением подвижной части весов от положения равновесия.

По способу создания уравновешивающей силы весы подразделяют на механические - гирные (равноплечные и неравноплечные), квадрантные (с маятниковым уравновешивающим устройством, угол отклонения к-рого преобразуется в отклонение стрелки и служит мерой силы Р), пружинные (напр., торзионные, крутильные, тензометрич., магнитострикционные, виброчастотные), в к-рых мера силы Р - деформация упругого элемента трансформируется кинематически или спец. преобразователями в отклонение стрелки; электронные весы с магнитоэлектрическими (взаимод. магн. полей постоянного магнита и токовой катушки), электродинамическими (полей двух катушек) или электростатическими (статич. зарядов двух электродов) силовозбудителями, причем мерой силы Р является электрич. величина (ток, напряжение); гидравлические и пневматические, в к-рых сила Р уравновешивается давлением соотв. жидкости и воздуха. Довольно часто в весах используют два и даже три способа создания противодействующей силы. Последняя и сила Р могут быть приложены встречно, вдоль общей линии действия к одному и тому же элементу измерит. части весов без промежут. передачи (безрычажные весы), либо взаимод. посредством спец. передаточного механизма (рычажные весы).

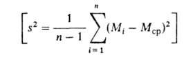
Основные метрологические характеристики весов, принятые в аналитической химии: правильность (точность, верность) - степень приближения абсолютного значения массы взвешиваемого тела по показаниям весов к ее действит. (истинному) значению; воспроизводимость (разброс, вариация) - расхождение показаний весов при неоднократном взвешивании одного и того же тела. Численно эти характеристики определяют величиной погрешности, к-рая не должна превышать допускаемых значений, установленных для весов разных типов и назначений международными и национальными стандартами. Различают осн. погрешность (при нормиров. окружающих условиях), дополнит. погрешность (из-за изменений т-ры, давления и т.п.) и их составляющие - систематич. погрешность (напр., вследствие неправильного соотношения плеч рычагов) и случайную (вызывается, напр., трением в опорах). Последняя определяется для конкретного типа весов в целом (табл. 1 и 2) величиной среднего квадратичного, или стандартного, отклонения

1069-44.jpg

при числе взвешиваний1069-45.jpg ), а для каждых весов - приближенной оценкой s стандартного отклонения
1069-46.jpg

при ограниченном и, напр. 2, 5, 10. Здесь Мi-значение массы тела при отдельных взвешиваниях,
1069-47.jpg

величина s-определяющая характеристика весов при весьма большом числе хим. анализов.

Др. важные характеристики: наиб. предел взвешивания Ммакс-наиб. масса тела, к-рое м. б. взвешено на данных весах с установленной для них точностью; диапазон непосредственного отсчета показаний по шкале (ДНОП) - в его пределах предпочтительно определяют содержание компонентов при хим. анализах; цена деления - значение одного деления шкалы или единицы младшего разряда отсчетного устройства, выраженное в единицах массы; разрешающая способность - характеризует точность отсчета показаний весов (обычно единица младшего разряда цифрового отсчетного устройства, а также 0,5, 0,05 или 0,01 цены деления шкалы соотв. без нониуса и с нониусом). Для суммарной метрологич. оценки точности применяется обобщенный показатель - класс точности (соответствует классу точности гирь), определяющий правильное соотношение между допускаемой погрешностью показаний, ценой деления, разрешающей способностью,1069-48.jpg, Ммакс и ДНОП.

Осн. эксплуатационные характеристики весов: независимость показаний от внеш. воздействий и от точности установки; затраты труда и времени на подготовку к работе, проведение измерений, обработку и представление результатов в требуемой форме; степень автоматизации взвешиваний и диагностики состояния; способность к расширению функциональных возможностей путем подсоединения к унифицированным вычислит. устройствам, дисплеям, контроллерам и т.п., а также к разл. камерам для проведения спец. исследований (см. ниже).

Различают весы образцовые (для поверки и аттестации гирь), лабораторные, технологические, общего назначения (напр., для торговых, складских и транспортных операций) и бытовые. Главные тенденции развития совр. весов: совершенствование традиционных конструкций и создание перспективных типов и моделей на основе уравновешивающих устройств, дающих информацию в форме стандартных аналоговых или цифровых электрич. сигналов, с применением электроники, вычислительной и микропроцессорной техники.

В данной статье рассмотрены важнейшие типы лаб. и технол. весов, применяемых в хим. лабораториях, хим. и смежных отраслях пром-сти, медицине и с. х-ве (в агрохим. лабораториях).

Лабораторные весы. Для удобства классификации традиционно различают весы: аналитической группы (аналит., полуми-кроаналнт., микроаналит., ультрамикроаналит.), общелабораторные, или технические, - для техн. анализов, взвешивания хим. реактивов и др., специальные - для исследований при пониж. давлениях (вакуумные весы), изменения массы тел при высоких и низких т-рах (термогравиметрич. весы), гранулометрии, состава материалов с регистрацией изменения массы осадков во времени (седиментационные весы), для работы в агрессивных средах, в атмосфере благородных газов, в присут. взрывоопасных в-в и т.п., а также для взвешивания драгоценных металлов и камней (пробирные весы). В последние десятилетия произошли капитальные изменения как в конструкциях, так и в парке всех лаб. весов (см. табл. 1-2). Выходят из употребления эксплуатировавшиеся с кон. 40-х-нач. 60-х гг. простые двухчашечные равноплечные весы с трехпризменным коромыслом (рычагом) без успокоителей, рейтерными (рейтер - проволочная гиря-"наездник" массой 1, 5 или 10 мг, перемещаемая оператором вдоль шкалы на коромысле) и неименованными (без фиксированной цены деления) отсчетными шкалами. Осн. недостатки таких весов: неудобство работы (необходимость вычислять положение равновесия, отсчитывая амплитуды отклонений стрелки при колебаниях коромысла), необходимость применения методов точного взвешивания для исключения погрешности из-за неравноплечности коромысла и учета погрешности гирь, низкая производительность (одно взвешивание за 3-6 мин) и др.

Табл. 1.-ОСНОВНЫЕ ХАРАКТЕРИСТИКИ ТИПИЧНЫХ ЛАБОРАТОРНЫХ ВЕСОВ АНАЛИТИЧЕСКОЙ ГРУППЫ
Аналитические весы

Табл. 2.-ОСНОВНЫЕ ХАРАКТЕРИСТИКИ ТИПИЧНЫХ ОБЩЕЛАБОРАТОРНЫХ ВЕСОВ
Лабораторные весы

На смену простым весам пришли равноплечные весы с успокоителями (обычно воздушными), встроенными гирями и именованными проекц. шкалами (рис. 1). Они имеют, как и простые весы, коромысло с одной опорной и двумя грузоприемными призмами, к к-рым посредством подушек и серег подвешены грузоприемные чашки (площадки), траверсы для встроенных миллиграммовых гирь (весы аналитической группы с комплектом гирь до полной нагрузки не получили распространения). Коромысло изготовлено из алюминиевого сплава или чугуна, призмы и подушки - из агата, корунда или высокотвердой стали. Для уменьшения износа и предупреждения поломок призм и подушек весы оборудуются арретиром, ограничивающим амплитуду колебаний коромысла, и изолиром, с помощью к-рого призмы отделяются от подушек. Применение встроенных гирь не только упрощает и ускоряет взвешивание, но и способствует повышению точности весов, поскольку погрешности гирь вследствие их малости не учитываются. Спец. именованная шкала, изображение к-рой проецируется на матовый экран оптич. системой весов, позволяет уменьшить угол отклонения коромысла, расширить ДНОП, повысить точность отсчета, используя нониус, и исключает необходимость в определении цены деления при взвешивании разных по массе тел. Эти весы производительнее простых равноплечных (одно взвешивание за 1-3 мин), однако и при работе на них часто приходится применять методы точного взвешивания и учитывать погрешности гирь из наборов.
Аналитические весы лабораторные

Рис. I. Равноплечиые трехпризменные лабораторные весы аналитической группы: 1-коромысло; 2-успокоитель; 3-рукоятки механизма наложения встроенных гирь с оцифрованными лимбами; 4-экран с изображением проекц. шкалы; 5-грузоприемная чашка; 6-колонка; 7-рукоятка арретира-изолира.

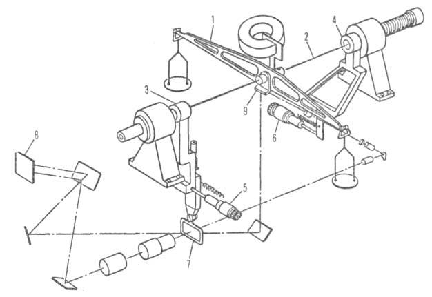
Дальнейшее совершенствование гирных весов достигнуто благодаря переходу в нач. 60-х гг. от равноплечных весов к одноплечным, или одночашечным, двухпризменным (рис. 2), принцип действия к-рых был предложен Д. И. Менделеевым. На коромысле весов закреплены опорная и грузоприемная призмы. К последней, помимо чашки для взвешиваемого тела, подвешены траверсы с полным комплектом встроенных граммовых и миллиграммовых гирь, масса к-рых равна Ммакс. Для уравновешивания коромысла с чашкой и гирями на его противоположном конце закреплен груз-противовес. При помещении на чашку взвешиваемого тела для уравновешивания коромысла с траверсы снимают гири, масса к-рых с точностью до половины ДНОП соответствует массе тела. В этих весах исключена погрешность из-за неравноплечности коромысла, не учитываются погрешности встроенных гирь, а тела разной массы взвешиваются при одной и той же нагрузке на коромысло, что повышает точность измерений. Для ускорения подбора гирь применяют предварительное (грубое) взвешивание посредством входящего, как правило, в комплект весов спец. устройства - рычага, расположенного под коромыслом и опирающегося на пружину (на рис. не показан). Продолжительность одного взвешивания на таких весах составляет ок. 60 с.
Аналитические весы лабораторные

Рис. 2. Одноплечные двухприз-менные лабораторные весы аналитической группы: 1-коромысло; 2-противовес; 3-успокоитель; 4-проекц. шкала; 5-траверса; 6-встроенные гири; 7-серьга; 8 - грузоприемная чашка; 9, 10 - соотв. опорные и грузоприемные призмы и подушки; 11 -колонка; 12- рукоятка арретира-изолира.

В лучших моделях двухпризменных аналитических весов автоматизированы арретирование и разарретирование коромысла, обеспечивается плавное соприкосновение призм и подушек, предусмотрены возможность компенсации тарной нагрузки и дрейф (смещение) нуля в ДНОП по проекц. шкале. В микроаналитические весы, кроме того, автоматизировано наложение -снятие встроенных гирь (что исключает необходимость в предварит. взвешивании) и имеется устройство, позволяющее выносить чашку из витрины весов для удобства наложения и удаления взвешиваемого тела; это устройство сблокировано с механизмом открывания и закрывания витрины. Повышение точности таких автоматизир. весов достигается уменьшением суммарной погрешности всех встроенных гирь до ±0,1 мг (аналитические весы) либо суммы гирь каждой декады, напр. 10-100 мг или 1-10г, до ± 0,006 мг (микроаналитические весы), а также снижением1070-2.jpg при одноврем. расширении ДНОП. Продолжительность одного взвешивания на весах этих типов 20-30 с.

Развитие общелаб. весов в отличие от весов аналит. группы, действие к-рых основано только на компенсационном методе, связано с переходом в начале 60-х гг. на прямой метод измерений. Равноплечное коромысло в таких весах заменено двухпризменным рычагом с низким по отношению к точке опоры расположением центра тяжести - квадрантом (рис. 3), при отклонении к-рого от исходного положения равновесия под действием силы тяжести взвешиваемого тела возникает уравновешивающая сила. Прямой метод измерений позволяет увеличить ДНОП до 30% и даже до 50% от Ммакс и использовать всего одну или две встроенные гири, к-рые накладываются и снимаются рукояткой, выведенной из кожуха весов.

Повышению разрешающей способности квадрантных весов способствует применение проекц. шкалы и оптич. нониуса. Уменьшение влияния неточной установки весов по уровню достигается размещением объектива оптич. системы отсчетного устройства на вспомогат. рычаге-маятнике. Для сокращения продолжительности затухания колебаний коромысла и рычага на них закреплены экраны магн. успокоителя. Тарная нагрузка компенсируется пружиной (на рис. не показана), один конец к-рой связан со стойкой, несущей грузоприемную площадку, а другой - с основанием весов.
Квадрантные общелабораторые весы

Рис. 3. Квадрантные общелабораторые весы: 1-квадрант; 2-груз-противовес; 3-успокоитель; 4-стойка; 5-встроенная гиря; 6-грузоприемная площадка; 7-проекц. шкала; 8-экран (пунктир-направление лучей света оптич, системы).

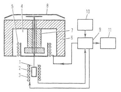
Совр. этап развития лаб. весов, отличающихся сравнительно небольшим быстродействием и значит. восприимчивостью к внеш. воздействиям, характеризуется возрастающим применением в них для создания уравновешивающей силы (момента) электрич. силовозбудителей с электронной системой автоматич. регулирования (САР), обеспечивающей возвращение измерит. части весов в исходное положение равновесия. САР электронных лабораторных весов (рис. 4) включает датчик, напр., в виде дифференциального трансформатора; сердечник его закреплен на измерит. части и перемещается в смонтированной на основании весов катушке с двумя обмотками, выходное напряжение к-рых подается в электронный блок. Применяют также датчики в виде электронно-оптич. устройства с зеркалом на измерит. части, направляющим луч света на дифференциальный фотоэлемент, подсоединенный к электронному блоку. При отклонении измерит. части весов от исходного положения равновесия взаимное положение элементов датчика изменяется, и на выходе электронного блока появляется сигнал, содержащий информацию о направлении и величине отклонения. Этот сигнал усиливается и преобразуется электронным блоком в ток, к-рый подается в катушку силовозбудителя, закрепленную на основании весов и взаимод. с постоянным магнитом на их измерит. части. Последняя благодаря возникающей противодействующей силе возвращается в исходное положение. Ток в катушке силовозбудителя измеряется цифровым микроамперметром, проградуированным в единицах массы. В электронных весах с верх. расположением грузоприемной чашки используется аналогичная схема автоматич. уравновешивания, но постоянный магнит силовозбудителя смонтирован на стержне, несущем чашку (электронно-безрычажные весы) или связан с этим стержнем рычагом (электронно-рычажные весы).
Электронные лабораторные весы

Рис. 4. Принципиальная схема электронных лабораторных весов: 1 -датчик; 2-сердечник; 3, 5-соотв. катушки датчика и силовозбудителя; 4-силовозбудитель; 6-постоянный магнит; 7-стержень; 8-грузоприемная чашка; 9-электронный блок; 10-источник питания; 11-цифровое отсчетное устройство.

По сравнению с лабораторными весами традиционных типов электронные весов характеризуются большими функциональными возможностями. Кроме того, эти весы обладают очень высокими метрологич. и эксплуатац. показателями благодаря применению в них микропроцессорных и вычислит. блоков. Последние либо встраивают в весы (блоки управления подготовкой весов к работе, контроля и диагностики неисправностей, автоматич. корректировки при изменении внеш. условий), либо подсоединяют к весам в виде спец. приставок по мере необходимости (блоки обработки, регистрации, вывода данных и управления работой при серийных типовых анализах, а также совместного управления весами и спец. камерами при исследованиях в изменяющихся по программе внеш. условиях).

Электронные весы автоматически подготавливаются к взвешиванию нажатием на кнопку или педаль управления. При этом на измерит. часть весов накладывается встроенная контрольная гиря. Если создаваемая ею нагрузка не соответствует показаниям весов, автоматически вводятся поправки, учитывающие т-ру воздуха, дрейф нуля, разницу значений1070-5.jpg соотв. в местах исходной градуировки и эксплуатации весов, а также погрешности их установки по уровню. Подготовку весов, к-рая продолжается всего неск. секунд, можно повторять в ходе работы, устраняя каждый раз влияние текущих изменений внеш. воздействий. Такая подготовка весов, наряду с повышением быстродействия и точности измерений, способствует снижению требований к условиям применения весов (напр., диапазон рабочих т-р в лучших моделях расширен до 10-40°С).

Электронные весы с микропроцессорными и вычислит. блоками обладают большей, чем мех. весы, устойчивостью к колебаниям основания. Микропроцессорное устройство многократно измеряет ток в катушке силовозбудителя и вычисляет осредненное значение массы, практически свободное от помех, вызываемых малыми колебаниями основания, а при больших колебаниях вырабатывает предупредительный сигнал. Оптим. время осреднения (обычно 1 -2 с) устанавливается лаборантом, а на лучших моделях рассчитывается и задается автоматически. В результате продолжительность взвешивания в ДНОП, равном, как правило, Ммакс, на электронных аналитических и микроаналитических весах не превышает 3-5 с, а на общелабораторных 1-3 с.

Все электронные весы имеют аналоговый и цифровой выход со стандартными сигналами, что позволяет подключать их без спец. согласующих блоков (интерфейсов) к вычислительным и цифропечатающим устройствам, дисплеям, графопостроителям, контроллерам, служащим для автоматич. программного управления весами. В память микропроцессорного блока, встроенного в весы, заложены постоянные программы: подготовки к работе, проверки на функционирование, компенсации тарной нагрузки в ДНОП, диагностики причин отказов. Помимо этого, к весам может быть подключен блок программного управления и обработки данных с банком типовых программ (напр., для приготовления р-ров заданных состава и суммарной массы, определения плотности и влажности образцов). Предусматривается также возможность быстрой установки на электронных весах камер для спец. исследований, подвески через отверстия в днище корпуса грузоприемных чашек в весы с их верх. расположением и т.п.

Мало изменились конструктивно и продолжают применяться для ультрамикроанализа крутильные весы, а для предварит. взвешивания малых кол-в образцов, технических и производственных анализов - торзионные ультрамикровесы.

В крутильноравноплечных ультрамикровесах (рис. 5) коромысло подвешено на горизонтальной кварцевой или металлич. нити-растяжке, к-рая натянута между двумя поворотными втулками и служит одновременно осью коромысла и упругим измерит. элементом. При определении массы или изменения ее значений в пределах ДНОП уравновешивающий момент создается закручиванием упругой нити, а показания весов считываются с лимбов, связанных с передней рукояткой. Для взвешивания тел, масса к-рых превышает ДНОП, используют миллиграммовые гири.
Крутильноравноплечные лабораторные весы

Рис. 5. Крутильноравноплечные лабораторные весы: 1-коромысло; 2-нить-растяжка; 3, 4-втулки; 5, 6-рукоятки; 7-проекц. шкала; 8-экран; 9-зеркало.

Торзионные ультрамикровесы отличаются от крутильных тем, что коромысло закреплено на оси, опирающейся на прецизионные подшипники, а упругим измерит. элементом служит спиральная пружина. Эти весы выпускаются с Ммакс, равным 20, 200 и 1000 мг, и имеют цену деления соотв. 0,05, 0,2 и 1 мг; погрешность определения массы и а не превышают цены деления.

Технологические весы. Служат составной частью оборудования разл. химико-технол. линий. Различают весы: общего назначения (платформенные, циферблатные, вагонные, автомобильные); специальные - дискретного (порционные весы) и непрерывного (конвейерные весы) действия; электронные весовые устройства; дозирующие устройства (см. Дозаторы). Кроме того, в кач-ве технол. весов используют иногда лаб. весы, напр. общелабораторные с верх. расположением грузоприемной площадки.

Порционные весы подразделяют на бестарные, расфасовочные и упаковочные. Бестарные весы (рис. 6) имеют обычно сдвоенное равноплечное коромысло, между параллельными частями к-рого подвешены на одном конце грузоприемный ковш, на другом - площадка для гирь. Жидкости поступают в ковш по трубопроводам; опорожнение ковша производится его опрокидыванием или через донный клапан. Сыпучие материалы подаются в ковш гравитационными, ленточными и др. питателями, к-рые имеют управляемые заслонки или задвижки для обеспечения соответствующего режима и полного прекращения подачи материала в ковш. Питатели включаются и выключаются автоматически. Включение их осуществляется, когда под действием момента силы тяжести гирь пустой ковш поднимается в верх. положение, либо по команде системы управления химико-технол. линией при использовании весов для расфасовки и упаковки материала. По мере заполнения ковша коромысло приближается к горизонтальному положению, при достижении к-рого питатель отключается и поступление материала в ковш прекращается.
Автоматические порционные весы

Рис. 6. Автоматические порционные весы: 1-сдвоенное коромысло; 2-ковш; 3-гиредержатель; 4-гравитац. питатель; 5-заслонка; 6-дно; 7-запорный механизм; 8-противовес.

Для повышения точности взвешивания и обеспечения одновременно режима высокой производительности большинство порционных весов оборудуют двухрежимными питателями. При приближении коромысла вплотную к горизонтальному положению питатель автоматически переключается на режим досыпки материала. При этом погрешность взвешивания снижается из-за уменьшения динамич. воздействия на весы струи материала. Управление весами, в т.ч. открывание дна или наклон ковша для его опорожнения, осуществляется рычажной системой, приводимой в действие моментом силы тяжести материала в ковше либо электромех. системой, к-рая включает дискретные или аналоговые датчики положения коромысла и исполнительные (обычно электропневматические) механизмы.

В химико-технол. линиях с программным управлением при необходимости частого изменения массы отвесов используют порционные весы с грузоприемным ковшом, подвешенным на системе рычагов, связанных с уравновешивающим квадрантным устройством, снабженным датчиками, к-рые взаимод. со стрелкой. Все шире применяют также весы с уравновешивающим устройством в виде спец. силоизмерителей (см. ниже). Масса порций материала на весах с дискретными датчиками задается их перестановкой, а на весах с аналоговыми датчиками или силоизмерителями - с помощью электрич. задатчика массы. Команда на включение питателя подается, когда стрелка весов находится на нулевой отметке, а команды на изменение режима и прекращение подачи материала - при прохождении стрелки мимо дискретных датчиков. На весах с аналоговым датчиком положения стрелки и на весах с силоизмерителями эти команды вырабатываются при равенстве выходных сигналов датчиков и задатчика.

При работе на весах для отвешивания сыпучих материалов в тару, напр. в мешки, последние закрепляются захватом на коромысле и служат ковшом "разового применения", в к-рый материал отвешивается так же, как в обычный ковш. Коробки или тару для жидкостей устанавливают на грузоприемной платформе электронных весов (напр., по типу общелабораторных) или на платформе циферблатных весов с соответствующим Ммакс. Последний для порционных весов составляет от долей грамма (напр., на технол. линиях для изготовления лек. препаратов в виде таблеток) до неск. тонн при производительности соотв. от десятков отвесов до одного отвеса в 1 мин; относит. погрешность 0,1-2,0%.

Порционные весы для взвешивания крупнокусковых материалов оборудованы спец. измерителем со счетчиком "перевесов", подсчитывающим их суммарную массу.

Конвейерные (ленточные) весы применяют гл. обр. для суммарного учета массовых сыпучих материалов (напр., колчедана), а также при загрузке такими материалами железнодорожных вагонов, автомашин и судов-сухогрузов. Весы, встроенные в ленточный транспортер (рис. 7), имеют чувствительную систему в виде рамы, на к-рой смонтированы роликоопоры для ленты транспортера. Нагрузка на уравновешивающее устройство определяется с помощью силоизмерителя в осн. с электрич. выходным сигналом, пропорциональным мгновенному значению погонной нагрузки на ленту (т.е. силе тяжести, создаваемой материалом на участке ленты, воздействующей на раму весов, отнесенной к длине этого участка). Сигнал подается на вход электронного блока, к к-рому подсоединен также тахометр, приводимый во вращение лентой транспортера. В блоке смонтирована схема умножения сигналов уравновешивающего устройства и тахометра, выходной сигнал к-рой пропорционален массовому расходу, т.е. производительности транспортера. Сигнал поступает на стрелочный указатель производительности и далее на счетчик, показывающий кол-во материала, прошедшего через транспортер за определенное время. Эта информация м. б., кроме того, введена в ЭВМ или цифропечатающее устройство.
Электромеханические конвейерные весы

Рис. 7. Электромеханические конвейерные весы: 1- ленточный транспортер; 2-рама грузоприемного устройства; 3, 5 - роликоопоры; 4 - тензорезисторный силоизмеритель; 6 - датчик тахометра; 7 - усилитель; 8-электронный блок с цифровым индикатором.

Для равномерного распределения материала, напр. при загрузке вагонов, применяют устройство, в к-ром транспортер целиком смонтирован на весах (конвейерные весы с собственным транспортером). Производительность разл. конвейерных весов составляет от неск. килограммов до сотен тонн; относит. погрешность 0,5-2,0%.

Электронные весовые устройства (рис. 8), встраиваемые непосредственно в технол. оборудование, состоят из одного или неск. силоизмерителей (датчиков) и электронного блока. В тензорезисторных датчиках деформации упругого измерит. элемента преобразуются в электрич. сигнал при помощи тензорезисторов с металлич. (проволочной или фольговой) решеткой из спец. сплава или в виде полосок из полупроводникового материала. Тензорезисторы приклеены или приварены к упругим элементам так, что деформируются вместе с ними. При этом электрич. сопротивление тензорезисторов с металлич. решеткой изменяется на 2-3%, а полупроводниковых - на 100% и более. Предельные нагрузки составляют от долей килограмма до 100 т и более, относит. погрешность 0,02-1% от предельной нагрузки.
Электронное весовое устройство

Рис. 8. Электронное весовое устройство: 1 - взвешиваемая емкость; 2-силоизмерители; 3 - усилитель; 4-электронный блок с цифровым индикатором.

Магнитоупругие (магнитострикционные) силоизмерители - трансформаторы с перекрещивающимися обмотками, проходящими через отверстия сердечника. Последний изготовлен из материала, магн. св-ва к-рого изменяются при воздействии мех. нагрузки, что вызывает изменение напряжения, наводимого во вторичной обмотке при питании первичной переменным напряжением от стабилизиров. источника. Предельные нагрузки находятся в пределах от десятков килограммов до неск. сотен тонн, относит. погрешность 0,5-2% от предельной нагрузки.

Вибрац. силоизмерители основаны на изменении собственной частоты колебаний упругого элемента струны или стержня при изменении приложенной к ним нагрузки. Для повышения точности определяется изменение собственной частоты рабочего элемента по отношению к контрольному, на к-рый воздействует неизменная нагрузка, напр. встроенная гиря. Виброструнные силоизмерит. элементы выпускают для предельных нагрузок от одного до неск. десятков килограммов, а вибростержневые - от неск. килограммов до десятков тонн; относит. погрешность 0,01-0,2% от предельной нагрузки.

Силоизмерители встраивают в весы и технол. оборудование в кач-ве опор или подвесок, поддерживающих грузоприемное устройство. Для исключения погрешностей, вызываемых неосевым приложением нагрузки, перекосами и т. п., используют т. наз. узлы встройки (привязки), обеспечивающие самоустановку силоизмерителей вдоль линии действия сил. Электронный блок суммирует сигналы си-

лоизмерителей (когда грузоприемное устройство имеет неск. опор), вводит поправки на влияние окружающей среды, при необходимости преобразования сигналов в управляющие команды сравнивает измеряемую нагрузку с заданной. Помимо вывода информации на отсчетное устройство предусматривается, как правило, возможность подсоединения электронного блока к внеш. устройствам представления и регистрации информации и к ЭВМ.

Лит. см. при ст. Взвешивание. С. С. Щедровицкий, Ю. М. Сергиенко.