Дилатометр
Дилатометр (от лат. dilato — расширяю и ...метр), прибор, измеряющий изменения размеров тела, вызванные воздействием температуры, давления, электрического и магнитного полей, ионизирующих излучений или каких-либо др. факторов. Наиболее важная характеристика дилатометра — его чувствительность к абсолютному изменению размеров тела.
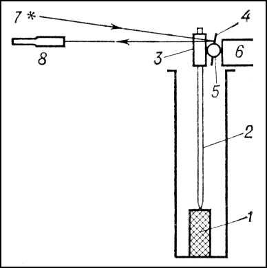
Распространение получили оптико-механические, ёмкостные, индукционные, интерференционные, рентгеновские, радиорезонансные дилатометры. В оптико-механическом дилатометре изменение размеров исследуемого образца вызывает смещение светового указателя (рис. 1). Изменение длины образца определяют либо на основе предварительной калибровки прибора, либо из геометрических соотношений. Чувствительность дилатометра ~ 10-6—10-7 см. В ёмкостных дилатометрах изменение размеров исследуемого образца приводит к изменению ёмкости конденсатора, который служит в них датчиком (иногда поверхность образца является одной из пластин конденсатора). Для определения изменения размеров образца по изменению ёмкости прибор предварительно калибруется. Чувствительность дилатометра ~ 10-9 см.
В индукционных дилатометрах изменение размера образца вызывает взаимное смещение катушек индуктивности, что приводит к изменению их индуктивности взаимной. Для определения изменения размеров образца индукционного дилатометра осуществляют предварительную калибровку прибора. Чувствительность дилатометра ~ 10-9 см. В интерференционном дилатометре, основанном на принципе Физо (рис. 2), получают интерференционную картину при освещении монохроматическим светом двух оптических пластин, между которыми расположен исследуемый образец. Поскольку интерференционная картина получается при наложении пучков света, отражённых только от нижней плоскости верхней пластины и от верхней плоскости нижней (остальные картины убираются из поля зрения специальным расположением пластин), то сдвиг интерференционных полос происходит только при изменении длины образца. По сдвигу полос и длине световой волны рассчитывают изменение длины образца. Чувствительность дилатометра ~ 10-8 см. Рентгеновским дилатометром (по существу установкой для рентгеноструктурного анализа) измеряют изменение параметров кристаллической решётки исследуемого тела по рентгенограммам, снятым одним из известных способов (см. Рентгеновский структурный анализ). Чувствительность дилатометра в пересчёте на макроразмеры ~10-5—10-6 см. В радиорезонансных дилатометрах датчиком служит полый резонатор, который может быть изготовлен из исследуемого материала или иметь упругую стенку, соединённую с образцом. В обоих случаях при изменении размеров исследуемого образца изменяется объём резонатора, что приводит к изменению резонансной частоты (см. Резонанс). По сдвигу резонансной частоты рассчитывается изменение размеров образца. Чувствительность дилатометра доведена до 10-12 см.
Конструкция дилатометра, как правило, предусматривает возможность изменения внешних физических воздействий на исследуемый образец (в частности, изменение температуры образца и её стабилизацию). Особое внимание при измерениях уделяется учёту расширения (сжатия) окружающих образец тел: передающих звеньев дилатометра и др.
Для веществ, находящихся в жидком или газообразном состоянии, рассматривают только объёмное расширение. Дилатометры для определения объёмного расширения жидкостей конструктивно весьма разнообразны, но по принципу действия сводятся главным образом к следующим типам: 1) жидкость заполняет резервуар и часть тщательно калиброванного капилляра; наблюдают изменение уровня жидкости в капилляре при изменении температуры; 2) жидкость, заполняющая резервуар известного объёма, при нагревании частично из него вытекает; по массе вылившейся жидкости определяют её массу в резервуаре при температуре опыта, а следовательно, плотность жидкости в зависимости от температуры. Коэффициент теплового расширения материала резервуара в обоих случаях должен быть известен. Методом калиброванного капилляра можно измерить объёмное тепловое расширение и твёрдого тела, поместив его в резервуар, заполненный жидкостью с известным коэффициентом теплового расширения. Для измерения теплового расширения жидкостей применялся также метод сообщающихся сосудов, предложенный П. Дюлонгом и А. Пти (1818). Измерение объёмного расширения газов осуществляют дилатометрами, работающими по принципу газового термометра.
Лит.: Стрелков П. Г., Косоуров Г. И., Самойлов Б. Н., Дилатометр для образцов малых размеров, «Изв. АН СССР. Сер. физическая», 1953, т. 17, №3, с. 383; Стрелков П. Г., Новикова С. И., Кварцевый дилатометр для низких температур, «Приборы и техника эксперимента», 1957, № 5, с. 105; Pudalov V. M., Khaikin M. S., Dilatometer with a sensitivity of 10-4 Angstom, «Cryogenics», 1969, v. 9, № 2, p. 128; Collins J. G., White G. K., Thermal expansion of solids, «Progress in Low Temperature Physics», 1964, v. 4, p. 450; Symposium on thermal expansion of solids, «Journal of Applied Physics», 1970, v. 41, №13.
Я. С. Агранович.

Рис. 1. Схема оптико-механического дилатометра: 1 — исследуемый образец; 2 — шток; 3 — зажим; 4 — зеркало, прикрепленное к валику 5; 6 — магнит, притягивающий зажим; 7 — источник света; 8 — зрительная труба.

Рис. 2. Схема интерференционного дилатометра: 1 — источник света; 2 — конденсор; 3 — полупрозрачное зеркало; 4 — нижняя плоскость верхней пластины; 5 — верхняя плоскость нижней пластины; 6 — исследуемый образец; 7 — интерференционная картина в плоскости ЛЛ; 8 — линза, позволяющая наблюдать интерференционную картину.