Измельчение
Измельчение в технике, тонкое дробление (до частиц размером меньше 5 мм) какого-либо твёрдого материала. Измельчение широко применяется для обогащения полезных ископаемых в горном деле, а также в металлургии, химической, строительной и др. отраслях промышленности.
Измельчение известно с древнейших времён. Пест и ступка из камня были известны за 8000 лет до н. э. За 3500 лет до н. э. ручные мельничные жернова применялись в Египте и Китае для измельчения зерна и лишь отчасти в горном деле. С 16 века для измельчения руд использовались толчеи (падающие песты). Машинное измельчение стало развиваться со 2-й половины 19 в. Принцип действия шаровой мельницы, основного измельчающего аппарата, был известен уже 150 лет тому назад; прототип современной мельницы изобретён в 70-х гг. 19 в.
Способы измельчения — раздавливание, удар, истирание, при которых основное значение имеют деформации сжатия и сдвига. По существу измельчение является процессом образования новых поверхностей. Под действием внешних сил в куске возникают напряжения, вызывающие микротрещины, которые способны частично закрываться (самозаживляться) при снятии нагрузки. Некоторая предельная концентрация микротрещин в единице объёма может вызвать возникновение по крайней мере одной большой трещины, которая приводит к распадению куска на части. Поверхностно-активные молекулы веществ, присутствующих в окружающей среде, адсорбируясь на стенках трещин, препятствуют их самозаживлению («эффект Ребиндера»). При повторном нагружении куска такие трещины могут дать начало большой трещине и т. д. Это явление концентрации вещества на поверхности трещин объясняет действие понизителей твёрдости, способствующих измельчению. По мере уменьшения размера кусков в процессе измельчения их прочность возрастает, так как в мелких частицах оказывается меньше структурных дефектов. При очень тонком измельчении частицы размерами в несколько мкм и мельче могут под действием сил молекулярного сцепления образовывать хлопья и сростки. В этом случае при измельчении одновременно возникают новые мелкие кусочки, происходит их частичное укрупнение вследствие агрегатирования. Для предотвращения агрегатирования добавляют поверхностно-активные вещества, покрывающие частицы тончайшей плёнкой, которая препятствует слипанию. Измельчение во многих случаях сопровождается химическими превращениями на поверхности частиц. Распределение частиц по крупности в продуктах измельчения обычно носит закономерный характер. Мерой крупности продукта может служить удельная поверхность, так как она обратно пропорциональна среднему размеру частиц.
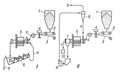
Для измельчения полезных ископаемых и материалов цементной и химической промышленности применяются в основном барабанные мельницы: шаровые, стержневые, галечные и самоизмельчения (см. Мельница); в промышленности строительных материалов для измельчения глин, кварца, полевого шпата используют бегуны. В роликовых и кольцевых мельницах измельчаются мягкие и средней твёрдости неабразивные материалы (например, фосфориты, угли). Для очень тонкого измельчения небольших количеств материала с размерами зёрен от 1—2 мм до 0,05 мм применяют вибрационные мельницы. Сверхтонкое измельчение материалов крупностью 0,1—0,2 мм до частиц размером 2—10 мкм осуществляется в струйных мельницах. Показатели производительности машин для измельчения включают не только массу, но и крупность исходного материала и продукта. Расход энергии на измельчение зависит от прочности (измельчаемости) материала и крупности исходного материала, степени загрузки мельницы и др. Для повышения производительности мельниц и уменьшения переизмельчения материала измельчение часто осуществляют в замкнутом цикле с классифицирующим аппаратом; при этом из материала, разгружающегося из мельницы, выделяется готовый измельченный продукт, а крупный материал возвращается в мельницу (рис. 1). Мельницы эффективно работают только при определённой степени измельчения (см. Дробление), поэтому для получения тонкого продукта измельчения часто ведут в два, реже в три приёма (стадии). При этом возможны разные схемы измельчения; например, при двухстадийной схеме мельница первой стадии может работать в открытом цикле, а мельница второй — в замкнутом (рис. 2). На рис. 3 в качестве примера показана распространённая схема мокрого измельчения руд в шаровой мельнице.
Получают развитие новые принципы измельчения, основанные на использовании электрогидравлического эффекта (электрический разряд в воде), токов высокой частоты, соударения встречных потоков воздуха, несущих твёрдые частицы (так называемые струйные мельницы), и др.
Лит.: Ромадин В. П., Пылеприготовление, М. — Л., 1953; Моргулис М. Л., Вибрационное измельчение материалов, М., 1957; Ребиндер П. А., Физико-химическая механика, М., 1958; Олевский В. А., Размольное оборудование обогатительных фабрик, М., 1963; Дешко Ю. И., Креймер М. Б., Крыхтин Г. С., Измельчение материалов в цементной промышленности, 2 изд., М., 1966; Акунов В. И., Струйные мельницы, 2 изд., М., 1967; Козулин Н. А., Горловский И. А., Оборудование заводов лакокрасочной промышленности, 2 изд., М., 1968.
В. А. Перов.

Рис. 3. Схема мокрого измельчения в шаровой мельнице в замкнутом цикле со спиральным классификатором I и с гидроциклоном II: 1 — бункер дроблёной руды; 2 — питатель руды; 3 — конвейер ленточный; 4 — весы конвейерные; 5 — мельница шаровая: 6 — классификатор спиральный; 7 — грохот барабанный; 8 — гидроциклон; 9 — насос песковый; 10 — контейнер (а — дроблёная руда мельче 30 мм; б — измельченная руда — слив мельче 0,2 мм; в — пески, оборотный продукт; г — обломки шаров, куски руды).

Рис. 2. Схема двухстадийного измельчения.

Рис. 1. Схема замкнутого цикла измельчения.