Урана сплавы
УРАНА СПЛАВЫ, сплавы на основе урана. Применяются гл. обр. в качестве ядерного топлива в тепловыделяющих элементах (твэлах). Использование чистого урана ограничено из-за плохих мех. св-в. Урана сплавы, особенно подвергнутые термич. обработке, отличаются от чистого урана более высокими мех. св-вами, что обусловлено образованием в них твердых р-ров или интерметаллич. соединений с легирующими элементами.
Элементы, входящие в состав урана сплавов, должны обладать ми-ним. величиной сечения захвата нейтронов, что позволяет уменьшать загрузку в реактор обогащенного урана. Особое внимание уделяется совместимости сплавов с материалом оболочки твэлов при рабочих т-рах, а также их обрабатываемости.
Урана сплавы условно делят на две группы. В первую входят сплавы с элементами, обладающими малой р-римостью в
:и
фазах урана (Al, Be, Fe, Si, Та, Cr и др.), во вторую - сплавы с элементами, обладающими большой р-римостью в
фазе: Nb, Zr, Ti, Pu, Hf - полная взаимная р-римость, Mo, U, Re и др.- р-римость более 10 ат. %.

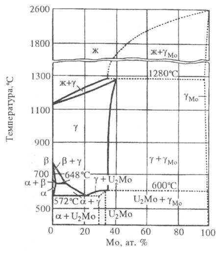
Диаграмма состояния системы U-Mo.
На рис. приведена, как наиб, характерная, диаграмма состояния системы U-Mo. Сплавы, содержащие до 33,3 ат. % Mo, в равновесном состоянии при нормальных условиях имеют структуру
. При закалке в сплавах с относительно небольшим содержанием Mo образуется мар-тенситная структура пересыщенного твердого р-ра на основе
фазы -
- и
-фазы; при закалке урана сплавов с относительно высоким содержанием Mo (более 12 ат. %) образуется структура на основе g-фазы -
- и
-фазы.
-Фаза (до 4,5 ат. % Mo) представляет собой пересыщенный твердый р-р на основе
, в решетке к-рого параметр b последовательно уменьшается с увеличением содержания Mo.
-Фаза (4,5-10 ат. % Mo) отличается от
-фазы небольшим моноклинным искажением ромбич. ячейки. Элементарная ячейка gS-фазы основана на удвоенной по всем направлениям объемноцентрированной кубич. ячейке g-U (а = 0,6884 нм для сплава с 12,4 ат. % Mo, пространственная группа Im3m, z= 16) и содержит 16 атомов в неупорядоченном состоянии, 8 из к-рых на ~ 0,001 нм смещены в направлениях осей третьего порядка. Структура g0-фазы для сплава с 10,5 ат. % Mo (а = 0,6960 нм, с = 0,6782 нм, пространственная группа I42m, z = 16) отличается от gS-фазы небольшим тетрагональным искажением ячейки; при этом величина смещения атомов возрастает до ~ 0,002 нм.
В зависимости от содержания Mo в сплаве происходит также изменение межатомных расстояний в структурах мета-стабильных фаз и соответствующее изменение твердости закаленных и отпущенных сплавов. Все эти изменения приводят к снижению твердости закаленных сплавов в области a:-фазы, несмотря на то, что легирование Mo увеличивает прочность сплава.
Урана сплавы хорошо сохраняют мех. прочность при повышенных т-рах, отличаются коррозионной стойкостью в воде при высоких давлениях и т-рах; изделия из них не изменяют форму и размеры при облучении и колебаниях т-ры. Сплавы, содержащие до 10 ат. % Mo, после закалки из области g-фазы и послед, отпуска при 400-450 0C характеризуются высокой твердостью по Виккерсу (до 570 HV).
Наиб, высокими мех. св-вами обладают трехкомпонентные (тройные) сплавы, легированные Mo и Nb, Mo и Zr, Mo и Ti, Nb и Zr. Тройные урана сплавы по прочности не уступают высокопрочным легированным сталям (
1600 МПа, удлинение
). Большой практич. интерес в качестве ядерного топлива представляют сплавы U-Al и U-Si в виде соединений UAl3, U3Si и U3Si2; в сплав U-Al для стабилизации фазы UAl3 и предотвращения р-ции UAl3 +Al
UAl4 вводят до 3% Si. Эти сплавы хорошо удерживают газообразные продукты деления и имеют высокую радиационную стойкость.
В урана сплавах с актиноидами Np и Pu, наиб, близкими к U по электронной структуре и величине атомных радиусов, образуется непрерывный ряд твердых р-ров на основе g-фазы U, а также широкие области твердых р-ров на основе b- (до 26 ат. % Np и ~ 20 ат. % Pu) и a-фазы (до 43 ат. % Np и ~ 15 ат. % Pu). Сплавы U-Pu являются основой для т. наз. смешанного ядерного топлива.
В качестве исходного материала для облучения в реакторах с целью произ-ва Pu используют т. наз. нормализованный уран - малолегированные сплавы U с содержанием (по массе) 0,04-0,12% Al, 0,02-0,04% Fe и 0,03-0,11% С либо 0,01-0,05% Fe и 0,01-0,03% Si; такие сплавы обладают мелкозернистой структурой и повышенными, по сравнению с нелегированным U, мех. св-вами.
Урана сплавы получают гл. обр. путем совместного плавления компонентов в вакуумных индукционных или дуговых печах, а также методом электроннолучевой плавки. Из урана сплавов методом литья или обработки давлением изготавливают тепловыделяющие элементы, детали контейнеров для хранения радиоактивных источников, нек-рые детали самолетов (гироскопы, лопатки турбин, балансиры), наконечники бронебойных снарядов; применяют их также в качестве защиты от излучения ядерных реакторов.
Лит.: Сокурский Ю.Н., Стерлин Я.M., Федорченко В.П., Уран и его сплавы. M., 1971; Вопросы атомной науки и техники, сер. Материаловедение и новые материалы, под ред. H. T. Чеботарева, в. 3, M., 1990; Кац Дж., Сиборг Г., Морес Л., Химия актиноидов, пер. с англ., т. 1, M., 1991. H. T. Чеботарев.