Спектральный анализ
СПЕКТРАЛЬНЫЙ АНАЛИЗ, метод качеств. и количеств. определения состава в-в, основанный на исследовании их спектров испускания, поглощения, отражения и люминесценции. Различают атомный и молекулярный спектральный анализ, задачи к-рых состоят в определении соотв. элементного и молекулярного состава в-ва. Эмиссионный спектральный анализ проводят по спектрам испускания атомов, ионов или молекул, возбужденных разл. способами, абсорбционный спектральный анализ-по спектрам поглощения электромагн. излучения анализируемыми объектами (см. Абсорбционная спектроскопия). В зависимости от цели исследования, св-в анализируемого в-ва, специфики используемых спектров, области длин волн и др. факторов ход анализа, аппаратура, способы измерения спектров и метро-логич. характеристики результатов сильно различаются. В соответствии с этим спектральный анализ подразделяют на ряд самостоят. методов (см., в частности, Атомно-абсорбционный анализ, Атомно-флуоресцентный анализ, Инфракрасная спектроскопия, Комбинационного рассеяния спектроскопия, Люминесцентный анализ, Молекулярная оптическая спектроскопия, Спектроскопия отражения, Спектрофотометрия, Ультрафиолетовая спектроскопия, Фотометрический анализ, Фурье-спектроскопия, Рентгеновская спектроскопия).
Часто под спектральным анализом понимают только атомно-эмис-сионный спектральный анализ (АЭСА)-метод элементного анализа, основанный на изучении спектров испускания своб. атомов и ионов в газовой фазе в области длин волн 150-800 нм (см. Атомные спектры).
Пробу исследуемого в-ва вводят в источник излучения, где происходят ее испарение, диссоциация молекул и возбуждение образовавшихся атомов (ионов). Последние испускают характеристич. излучение, к-рое поступает в регистрирующее устройство спектрального прибора.
При качественном АЭСА спектры проб сравнивают со спектрами известных элементов, приведенных в соответствующих атласах и таблицах спектральных линий, и таким образом устанавливают элементный состав анализируемого в-ва. При количеств. анализе определяют кол-во (концентрацию) искомого элемента в анализируемом в-ве по зависимости величины аналит. сигнала (плотность почернения или оптич. плотность аналит. линии на фотопластинке; световой поток на фотоэлектрич. приемник) искомого элемента от его содержания в пробе. Эта зависимость сложным образом определяется многими трудно контролируемыми факторами (валовый состав проб, их структура, дисперсность, параметры источника возбуждения спектров, нестабильность регистрирующих устройств, св-ва фотопластинок и т.д.). Поэтому, как правило, для ее установления используют набор образцов для градуировки, к-рые по валовому составу и структуре возможно более близки к анализируемому в-ву и содержат известные кол-ва определяемых элементов. Такими образцами могут служить специально приготовленные металлич. сплавы, смеси в-в, р-ры, в т. ч. и стандартные образцы, выпускаемые пром-стью. Для устранения влияния на результаты анализа неизбежного различия св-в анализируемого и стандартных образцов используют разные приемы; напр., сравнивают спектральные линии определяемого элемента и т. наз. элемента сравнения, близкого по хим. и физ. св-вам к определяемому. При анализе однотипных материалов можно применять одни и те же градуировочные зависимости, к-рые периодически корректируют по поверочным образцам.
Чувствительность и точность АЭСА зависят гл. обр. от физ. характеристик источников излучения (возбуждения спектров)-т-ры, концентрации электронов, времени пребывания атомов в зоне возбуждения спектров, стабильности режима источника и т. д. Для решения конкретной аналит. задачи необходимо выбрать подходящий источник излучения, добиться оптимизации его характеристик с помощью разл. приемов - использование инертной атмосферы, наложение магн. поля, введение спец. в-в, стабилизирующих т-ру разряда, степень ионизации атомов, диффузионные процессы на оптим. уровне и т.д. Ввиду многообразия взаимовлияющих факторов при этом часто используют методы мат. планирования экспериментов.
При анализе твердых в-в наиб. часто применяют дуговые (постоянного и переменного тока) и искровые разряды, питаемые от специально сконструир. стабилизир. генераторов (часто с электронным управлением). Созданы также универсальные генераторы, с помощью к-рых получают разряды разных типов с переменными параметрами, влияющими на эффективность процессов возбуждения исследуемых образцов. Твердая электропроводящая проба непосредственно может служить электродом дуги или искры; не проводящие ток твердые пробы и порошки помещают в углубления угольных электродов той или иной конфигурации. В этом случае осуществляют как полное испарение (распыление) анализируемого в-ва, так и фракционное испарение последнего и возбуждение компонентов пробы в соответствии с их физ. и хим. св-вами, что позволяет повысить чувствительность и точность анализа. Для усиления эффекта фракционирования испарения широко применяют добавки к анализируемому в-ву реагентов, способствующих образованию в условиях высокотемпературной [(5-7)·103 К] угольной дуги легколетучих соед. (фторидов, хлоридов, сульфидов и др.) определяемых элементов. Для анализа геол. проб в виде порошков широко применяют способ просыпки или вдувания проб в зону разряда угольной дуги.
При анализе металлургия, проб наряду с искровыми разрядами разных типов используют также источники света тлеющего разряда (лампы Грима, разряд в полом катоде). Разработаны комбинир. автоматизир. источники, в к-рых для испарения или распыления используют лампы тлеющего разряда или электротермич. анализаторы, а для получения спектров, напр.,-высокочастотные плазматроны. При этом удается оптимизировать условия испарения и возбуждения определяемых элементов.
При анализе жидких проб (р-ров) наилучшие результаты получаются при использовании высокочастотных (ВЧ) и сверхвысокочастотных (СВЧ) плазматронов, работающих в инертной атмосфере, а также при пламенно-фотометрич. анализе (см. Фотометрия пламени эмиссионная). Для стабилизации т-ры плазмы разряда на оптимальном уровне вводят добавки легкоионизируемых в-в, напр. щелочных металлов. Особенно успешно применяют ВЧ разряд с индуктивной связью тороидальной конфигурации (рис. 1). В нем разделены зоны поглощения ВЧ энергии и возбуждения спектров, что позволяет резко повысить эффективность возбуждения и отношение полезного аналит. сигнала к шуму и, т. обр., достичь очень низких пределов обнаружения широкого круга элементов. В зону возбуждения пробы вводят с помощью пневматических или (реже) ультразвуковых распылителей. При анализе с применением ВЧ и СВЧ плазматронов и фотометрии пламени относит. стандартное отклонение составляет 0,01-0,03, что в ряде случаев позволяет применять АЭСА вместо точных, но более трудоемких и длительных хим. методов анализа.
Для анализа газовых смесей необходимы спец. вакуумные установки; спект-ры возбуждают с помощью ВЧ и СВЧ разрядов. В связи с развитием газовой хроматографии эти методы применяют редко.

Рис. 1. ВЧ плазматрон: 1-факел отходящих газов; 2-зона возбуждения спектров; 3-зона поглощения ВЧ энергии; 4-нагреват. индуктор; 5-вход охлаж-дающега газа (азот, аргон); 6-вход плазмообра-зующего газа (аргон); 7-вход распыленной пробы (несущий газ-аргон).
При анализе в-в высокой чистоты, когда требуется определять элементы, содержание к-рых меньше 10-5-10 %, а также при анализе токсичных и радиоактивных в-в пробы предварительно обрабатывают; напр., частично или полностью отделяют определяемые элементы от основы и переводят их в меньший объем р-ра или вносят в меньшую массу более удобного для анализа в-ва. Для разделения компонентов пробы применяют фракционную отгонку основы (реже-примесей), адсорбцию, осаждение, экстракцию, хроматографию, ионный обмен. АЭСА с использованием перечисленных хим. способов концентрирования пробы, как правило, наз. химико-спектральным анализом. Дополнит. операции разделения и концентрирования определяемых элементов заметно повышают трудоемкость и длительность анализа и ухудшают его точность (относит. стандартное отклонение достигает значений 0,2-0,3), но снижает пределы обнаружения в 10-100 раз.
Специфич. областью АЭСА является микроспектральный (локальный) анализ. При этом микрообъем в-ва (глубина кратера от десятков мкм до неск. мкм) испаряют обычно лазерным импульсом, действующим на участок пов-сти образца диаметром неск. десятков мкм. Для возбуждения спектров используют чаще всего импульсный искровой разряд, синхронизованный с лазерным импульсом. Метод применяют при исследовании минералов, в металловедении.
Спектры регистрируют с помощью спектрографов и спектрометров (квантометров). Имеется много типов этих приборов, различающихся светосилой, дисперсией, разрешающей способностью, рабочей областью спектра. Большая светосила необходима для регистрации слабых излучений, большая дисперсия-для разделения спектральных линий с близкими длинами волн при анализе в-в с многолинейчатыми спектрами, а также для повышения чувствительности анализа. В качестве устройств, диспергирующих свет, используют дифракц. решетки (плоские, вогнутые, нарезные, голографич., профилированные), имеющие от неск. сотен до неск. тысяч штрихов на миллиметр, значительно реже-кварцевые или стеклянные призмы.
Спектрографы (рис. 2), регистрирующие спектры на спец. фотопластинках или (реже) на фотопленках, предпочтительнее при качественном АЭСА, т. к. позволяют изучать сразу весь спектр образца (в рабочей области прибора); однако используются и для количеств. анализа вследствие сравнит. дешевизны, доступности и простоты обслуживания. Почернения спектральных линий на фотопластинках измеряют с помощью микрофотометров (микроденситометров). Использование при этом ЭВМ или микропроцессоров обеспечивает автоматич. режим измерений, обработку их результатов и выдачу конечных результатов анализа.

Рис.2. Оптическая схема спектрографа: 1-входная щель; 2-поворотное зеркало; 3-сферич. зеркало; 4-дифракц. решетка; 5-лампочка освещения шкалы; 6-шкала; 7-фотопластинка.

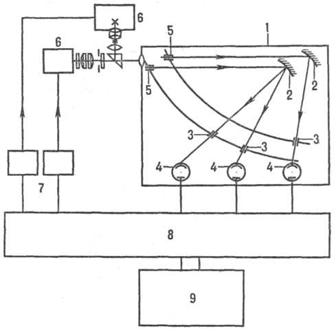
Рис. 3. Схема квантометра (из 40 каналов регистрации показано только три): 1-полихроматор; 2-дифракц. решетки; 3-выходные щели; 4-ФЭУ; 5-входные щели; 6 - штативы с источниками света; 7 - генераторы искрового и дугового разрядов; 8- электронно-регистрирующее устройство; 9 - управляющий вычислит. комплекс.
В спектрометрах осуществляется фотоэлектрич. регистрация аналит. сигналов с помощью фотоэлектронных умножителей (ФЭУ) с автоматич. обработкой данных на ЭВМ. Фотоэлектрич. многоканальные (до 40 каналов и более) полихроматоры в квантометрах (рис. 3) позволяют одновременно регистрировать аналит. линии всех предусмотренных программой определяемых элементов. При использовании сканирующих монохроматоров многоэлементный анализ обеспечивается высокой скоростью сканирования по спектру в соответствии с заданной программой.
Для определения элементов (С, S, P, As и др.), наиб, интенсивные аналит. линии к-рых расположены в УФ области спектра при длинах волн меньше 180-200 нм, применяют вакуумные спектрометры.
При использовании квантометров длительность анализа определяется в значит. мере процедурами подготовки исходного в-ва к анализу. Существенное сокращение времени пробоподготовки достигается автоматизацией наиб. длительных этапов - растворения, приведения р-ров к стандартному составу, окисления металлов, растирания и смешения порошков, отбора проб заданной массы. Во мн. случаях многоэлементный АЭСА выполняется в течение неск. минут, напр.: при анализе р-ров с использованием автомати-зир. фотоэлектрич. спектрометров с ВЧ плазматронами или при анализе металлов в процессе плавки с автоматич. подачей проб в источник излучения.
В черной и цветной металлургии распространены экспрессные полуколичественные (относит. стандартное отклонение 0,3-0,5 и более) методики определения содержания основных или наиб. характерных компонентов сплавов, напр. при их маркировке, при сортировке металлолома для его утилизации и т.д. Для этого применяют простые, компактные и дешевые визуальные и фотоэлектрич. приборы (стило-скопы и стилометры) в сочетании с искровыми генераторами. Диапазон определяемых содержаний элементов-от неск. десятых долей процента до десятков процентов.
АЭСА применяют в научных исследованиях; с его помощью открывали хим. элементы, исследуют археологич. объекты, устанавливают состав небесных тел и т.д. АЭСА широко применяется также для контроля технол. процессов (в частности, для установления состава исходного сырья, технол. и готовых продуктов), исследования объектов окружающей среды и др. С помощью АЭСА можно определять практически все элементы периодич. системы в весьма широком диапазоне содержаний - от 10-7% (пкг/мл) до десятков процентов (мг/мл). Достоинства АЭСА: возможность одновременного определения в малой навеске в-ва большого числа элементов (до 40 и более) с достаточно высокой точностью (см. табл.), универсальность методич. приемов при анализе разл. в-в, экспрессность, сравнительная простота, доступность и дешевизна аппаратуры.
Высокий уровень автоматизации АЭСА позволяет включать этот метод в автоматизир. системы аналит. контроля и управления технологией произ-ва.
Лит.: Зайдель А.Н., Основы спектрального анализа, М., 1965; Спектральный анализ чистых веществ, под ред. X. И. Зильберштейна, Л., 1971; Русанов А.К., Основы количественного спектрального анализа руд и минералов, 2 изд., М., 1978; Терек Т., Мика Й., Гегуш Э., Эмиссионный спектральный анализ, пер. с англ., ч. 1-2, М., 1982; Высокочастотный индуктивно-связанный плазменный разряд в эмиссионном спектральном анализе, под ред. Х.И. Зильберштейна, Л., 1987; Кузяков Ю.Я., Семененко К.А., Зо-ров Н.Б., Методы спектрального анализа, М., 1990. Ю.И. Коровин,