4.2. Электрокинетические явления

В 1807 г. профессор Московского университета Ф.Ф. Рейсс открыл два явления – электрофорез и электроосмос, связанные с нарушением электрохимического равновесия в двойном ионном слое на поверхности твердой фазы, граничащей с водной средой при помещении систем в электрическое поле. Принцип опыта Рейсса заключался в следующем. В кусок влажной глины были воткнуты две полые стеклянные трубки без дна. Чтобы вода при заливании в эти трубки не замутилась при размывании глины, на поверхность глины помещался кварцевый песок, после чего по стенке осторожно заливалась дистиллированная вода. Затем в воду помещали два угольных электрода, закрепленных на пробках, к которым подводился постоянный ток. По истечении некоторого времени было обнаружено, что частицы глины стали двигаться под действием электрического поля к положительно заряженному электроду. Значит, частицы глины оказались заряженными отрицательно. Это явление движения частиц твердой фазы в электрическом поле было названо электрофорезом. Одновременно с этим во второй трубке поднялся уровень жидкости, но помутнения не было. Вода оказалась положительно заряженной, поэтому она стала перемещаться к отрицательно заряженному электроду. Это явление получило название электроосмоса. Таким образом, под действием электрического тока может происходить движение либо твердого тела, либо жидкой фазы. Эти явления называют электрокинетическими, так как они проявляются при перемещении одной фазы относительно другой, и в настоящее время достаточно хорошо изучены. Кроме электроосмоса и электрофореза существуют еще два электрокинетических явления. Перечислим явления, наблюдаемые под влиянием взаимного движения двух фаз:

1) электрофорез - движение диспергированных частиц в дисперсионной среде под действием электрического потенциала, приложенного извне;

2) потенциал движущихся частиц, открытый в 1880 г. Дорном, потенциал седиментации (оседания) - возникновение потенциала под влиянием движущихся частиц относительно неподвижной жидкости или приоседании частиц;

3) электроосмос - движение жидкости относительно неподвижных стенок капилляров или пористой мембраны под действием электрического потенциала, приложенного извне;

4) потенциал протекания (открыт Квинке в 1859 г.) - возник­новение электрического потенциала при механическом продавливании жидкости через капилляры или пористую мембрану, независим от площади и толщины мембраны, но пропорционален разности давлений, вызывающих течение.

4.2.1. Определение электрокинетического потенциала

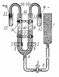
Рис. 1.38.Схема прибора Кёна-Бертона

Для экспериментального исследования электрокинетических явлений были предложены различные приборы. В частности, электрофорез можно наблюдать с помощью простейшего прибора Кёна, который представляет собой U-образную трубку с двумя кранами, имеющими отверстия, равные внутреннему диаметру трубки.

В качестве боковой жидкости обычно применяют ультрафильтрат после ультрафильтрации исследуемой дисперсии. В боковую жидкость погружают два электрода, подключенные к источнику постоянного тока, после чего открывают краны. В таком случае получается достаточно резкая граница золя (латекса) с боковой жидкостью. Под действием электрического тока граница движется к какому-либо электроду. По тому, к какому электроду движется граница золя определяют знак заряда его частиц, а по скорости движения - величину электрокинетического потенциала. У прибора Бертона вместо кранов имеется трубка, через которую наливается вначале боковая жидкость, а затем золь. Приливание ведется очень осторожно - так, чтобы граница «золь - боковая жидкость» была ясновыраженной. Для количественной характеристики заряда частиц методом макроэлектрофореза удобнее применять прибор Кёна-Бертона с делениями. Трубки такого прибора градуированы. Вместо угольных электродов применяют солевые мостики, опущенные в стаканчики с раствором электролита, чаще всего сернокислой меди, в которые помещены электроды из меди. Схема такого прибора в современной модификации приведена на рис. 1.38. На этом рисунке 1 – калиброванные трубки с делениями; 2 – краны с отверстиями 3, равными диаметру трубок 1; 4 – нижняя трубка, через которую заливают золь; 5 – нижний кран; трубка 6, соединяет прибор с сосудом 7, в котором находится золь; 8 – отверстия в обойме 9 для крепления прибора на стенде; 10 – солевые мостики; 11 – электроды из меди; 12 – сосуды с раствором CuSO4.

Рис. 1.39. Схема прибора Думанского

Прибор Думанского используется для определения знака заряда волокон, например, целлюлозы, хлопка, синтетических и искусственных волокнистых материалов. Принцип действия достаточно прост (рис. 1.39.) - волокно (4), установленное в зажим (2) помещают между двумя электродами (3), опущенными в воду или и в раствор (1). В водной среде на поверхности волокна формируется двойной ионный слой, целостность которого нарушается в электрическом поле. Заряженное волокно отклоняется к противоположно заряженному электроду, что позволяет определить знак и, в известной мере, величину заряда. По крайней мере, можно определить изоэлектрическую точку волокон, изменяя рН cреды.

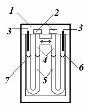
В последнее время широкое распространение получили приборы для микроэлектрофореза. На рис. 1.40 показана схема вертикально ориентированной ячейки. Здесь 1, 7 - покровные стекла, 2 – пробки, 3 – медные электроды, 4 – исследуемый золь, 5 – боковая жидкость, 6 – CuSO4.

Рис. 1.40. Схема плоской ячейки для микроэлектрофореза

Приборы для микроэлектрофореза состоят из открытой или закрытой плоской или круглой камеры, которую освещают боковым светом и рассматривают перемещение частиц с помощью микроскопа по рассеянному частицами свету. В микроскопе можно увидеть направление движения частиц и определить скорость их движения, что позволяет рассчитать величину электрокинетического потенциала. В последнее время были созданы более сложные и точные приборы для электрофореза [6].

Добавление электролитов к золям (латексам) оказывает большое влияние на скорость электрофореза. Таким путем можно сильно замедлить перемещение частиц и даже полностью его прекратить. Это состояние, когда частицы не несут на своей поверхности заряда и в электрическом поле не перемещаются, называется изоэлектрической точкой. Некоторые поливалентные ионы в результате сверхэквивалентной специфической адсорбции могут перезарядить поверхность частиц и заставить их перемещаться обратно первоначальному движению.

Рис. 1.41. Схема прибора для изучения электроосмоса

Существующие теории электрофореза, развитые в работах Смолуховского, позволяют рассчитать электрокинетический потенциал по скорости макроэлектрофореза с достаточной степенью достоверности. Метод электрофореза не позволяет определить потенциал волокон без их дополнительного диспергирования, что способно исказить результат. Кроме того, на результатах расчета может отразиться процесс седиментации частиц, особенно с высокой плотностью. Для таких систем используют электроосмос или измерение потенциала протекания. На рис. 1.41 приведена схема прибора Перрена для количественного определения скорости электроосмоса. В горизонтальную трубку А помещают исследуемое вещество. Затем присоединяют боковые трубки с электродами Е из платины, заливают раствор или воду и подключают постоянный электрический ток. Определяя по перемещению мениска М в капилляре С скорость движения жидкости при известной разности потенциала (Е1- Е2) можно рассчитать величину электрокинетического потенциала волокон.

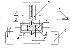
Рис. 1.42. Схема установки для определения потенциала протекания

Однако более точное измерение поверхностного потенциала можно получить с помощью метода измерения потенциала протекания.

Схема прибора для определения потенциала протекания показана на рис. 1.42. Основную часть установки составляет измерительная ячейка (9), выполненная из оргстекла. Делается это для исключения прохождения тока по поверхности ячейки. Внутри ячейки помещают мембрану из исследуемого волокна (1), с обоих концов которой расположены платиновые сетчатые электроды (3), подключенные к цифровому вольтметру (5). Поместив в ячейку мембрану из волокна, закрывают ячейку, с помощью силиконовых трубок подсоединяют ее к емкости для исходного раствора (6) и к приемной емкости (4), а с помощью резиновых трубок – к водному дифманометру (8) для измерения давления жидкости. Затем наливают в емкость исходный раствор, закрывают емкость и подключают к ней микронасос (7).

При включении микронасоса жидкость из емкости под давлением воздуха поступает в измерительную ячейку, а из нее - в приемную емкость. Давление жидкости регистрируется на водном дифманометре, а потенциал течения - на табло цифрового вольтметра. Показания приборов снимают только после того, как установятся постоянные их значения. Температуру измеряют с помощью термометра (2). Если при определенном давлении продавливать воду или раствор через систему капилляров или мембрану из волокна, то при помощи чувствительного прибора можно измерить возникающий при этом потенциал, соответствующий потенциалу поверхности раздела фаз «твердое тело-жидкость».