Акролеин

Синонимы:
акриловый альдегидпропеналь
Внешний вид:
бесцветн. жидкостьБрутто-формула (система Хилла): C3H4O
Формула в виде текста: CH2=CH-CHO
Молекулярная масса (в а.е.м.): 56,07
Температура плавления (в °C): -86,95
Температура кипения (в °C): 52,5
Температурные константы смесей:
52,4 °C (температура кипения азеотропа, давление 1 атм) акролеин 97,4% вода 2,6%
Растворимость (в г/100 г или характеристика):
ацетон: растворимвода: 40 (20°C)
диэтиловый эфир: растворим
этанол: растворим
Вкус, запах, гигроскопичность:
запах: резкий Дополнительное описание:
Порог восприятия запаха в воздухе (мг/л) = 0,001Метод получения 1.
(лабораторный синтез)Источник информации: "Синтезы органических препаратов" сб.1 М.1949 стр. 17-20
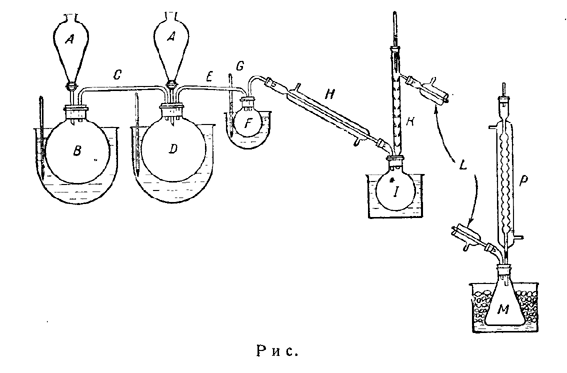
Аппарат собирают по рисунку. В и D представляют собой 5-литровые круглодонные колбы, погруженные на две трети в глубокие масляные бани, нагреваемые двумя большими горелками. В каждую баню помещается термометр, шарик которого находится на уровне дна колбы. Колба В закрывается специальной пробкой с двумя отверстиями (пробки обрабатываются жидким стеклом для придания твердости и теплостойкости), причем в одно отверстие вставляют капельную воронку А емкостью в 500 мл, а в другое — отводную трубку диаметром 12 мм. Трубки должны выдаваться из пробки не более чем на 3 мм. Колба D закрывается пробкой с тремя отверстиями, в которые вставляют капельную воронку, отводную трубку из В и 12-миллиметровую отводную трубку Е, ведущую в колбу F. Последняя представляет собой круглодонную колбу емкостью в 500 мл, погруженную на две трети в масляную баню, подогреваемую горелкой Бунзена и снабженную термометром.
В колбу F вставляется пробка с двумя отверстиями, в которые входят трубка Е и трубка G, причем последняя соединяется с первым холодильником Н и может быть меньшего диаметра, чем трубки С и Е. H — холодильник с водяной рубашкой длиной 30 см, соединенный с колбой I посредством алонжа. I представляет собой литровую круглодонную колбу, находящуюся в сосуде, который первоначально наполняется льдом, а затем служит водяной баней. Колба I запирается пробкой с двумя отверстиями, в которые вставлены алонж, соединенный с холодильником Н, и дефлегматор Вигрё К диаметром 2 см и длиной до бокового отростка 30 см. Колбу I и холодильник Н покрывают черной материей (иначе в холодильнике и колбе будет скапливатся твердый полимер, из-за полимеризации акролеина на свету). Отводную трубку дефлегматора К соединяют с 90-сантиметровым водяным холодильником L, который соединен с М через алонж. М представляет собой колбу Эрленмейера емкостью в 750 мл, погруженную в ледяную баню. Колба М запирается пробкой с двумя отверстиями, в которые вставлены алонж от L и вертикальный шариковый холодильник, верх которого соединен с трубкой, отведенной под тягу.
Колбы до окончательной сборки аппарата наполняют следующим образом. 1 кг свежесплавленного, хорошо измельченного кислого сернокислого калия, 200 г измельченного сернокислого калия и 300 г (238 мл) обезвоженного глицерина (для обезвоживания нагревают под тягой до 170 С в течение 3 часов) хорошо перемешивают и помещают в колбу В и такое же количество — в колбу D. В колбы I и М помещают по 1 г гидрохинона, служащего стабилизатором для акролеина.
Аппарат собирают, как указано выше, и нагревают масляные бани под В и D до 190—200°С (на начальном этапе нагревание медленное, во избежание вскипания), а масляную баню под F — до 110—120°С. Баню под I наполняют льдом. Летучие продукты собираются в колбе I, хорошо защищенной от света. После того как начнется реакция, в каждую капельную воронку наливают по 300 г обезвоженного глицерина, который затем добавляют по каплям в течение всего времени нагревания. Когда бурная реакция несколько успокоится (приблизительно через час), температуру в банях под В и D повышают до 215—230°С и эту температуру поддерживают до прекращения выделения летучих продуктов (общая длительность нагревания — около 4,5 часов). Через 4 часа с момента начала нагревания В и D лед под колбой I заменяют водой, которую затем нагревают до 75—80°С, чтобы перегнать акролеин в колбу М, охлаждаемую льдом. К концу перегонки воду под I нагревают до кипения.
Продукт, собравшийся в колбе М, обрабатывают небольшим количествами твердого бикарбоната натрия с целью нейтрализации возможной примеси кислоты. Затем холодную жидкость фильтруют через маленький фильтр в перегонную колбу емкость в 1500 мл, содержащую около 1 г гидрохинона, после чего фильтрат перегоняют в тарированную, обернутую черной материей, колбу, также содержащую 1 г гидрохинона.
Выход продукта, кипящего при 52,5—55,5°С, из 1200 г (13 моль) обезвоженного глицерина: 240—350 г (33—48% теоретического).
Метод получения 2.
(лабораторный синтез)Источник информации: Бюлер К., Присон Д. "Органические синтезы" ч.2 М.:Мир, 1973 стр. 10
2 г аллилового спирта кипятят 19 ч в 48 г петролейного эфира, содержащего 5 г активированной двуокиси марганца. Акролеин выделяют из петролейного эфира в виде 2,4-динитрофенилгидразона с выходом 99%. Этот выход выше обычно получаемого при использовании небольших количеств субстрата.
Плотность:
0,841 (20°C, г/см3)Показатель преломления (для D-линии натрия):
1,4022 (19,3°C)Энтальпия кипения ΔHкип (кДж/моль):
28,33Температура вспышки в воздухе (°C):
-17,8Температура самовоспламенения на воздухе (°C):
277Теплота сгорания Qv (кДж/моль):
1631- Гурвич Я.А. "Справочник молодого аппаратчика-химика" М.:Химия, 1991 стр. 229
- Рабинович В.А., Хавин З.Я. "Краткий химический справочник" Л.: Химия, 1977 стр. 121