6.8.6. Несоответствие в определении среднемассовой и среднечисленной мицеллярной массы поверхностно-активных веществ
Японский исследователь Ш. Икеда определял седиментационным методом в поле ультрацентрифуги зависимость среднечисленной и среднемассовой мицеллярной молекулярной массы оксиэтилированного октилфенола с содержанием 20 молей окиси этилена в молекуле от концентрации ПАВ в растворе.
Среднемассовую мицеллярную массу он рассчитывал по уравнению (2.6.25), а среднечисленную - по уравнению, предложенному Дансингом и Крамером
, (2.6.49)
где ci(a) -концентрация i-того компонента в мениске при x=а.
Общая молярная концентрация раствора может быть рассчитана как
, (2.6.50)
где с1-концентрация отдельных молекул, сm-концентрация мицелл в мениске (при x=а ); M1 и Mm- молекулярная и мицеллярная масса ПАВ, соответственно.
|
Данные исследования приведены на рис. 2.61.
Можно отметить, что среднечисленная мицеллярная масса значительно ниже среднемассовой. Это вполне понятно, так как концентрация отдельных молекул ПАВ сильнее сказывается именно на значении среднечисленной мицеллярной массы.
Использование коллигативных свойств, в частности, метода измерения понижения упругости паров для определения мицеллярной молекулярной массы дает, как правило, значения мицеллярной массы значительно ниже, чем величины, найденные другими методами, например, по светорассеянию. Этого можно было ожидать, так как хорошо известно, что метод светорассеяния дает значение среднемассовой мицеллярной массы, в то время как изучение коллигативных свойств приводит к определению среднечисленной мицеллярной массы. Только в идеальных монодисперсных системах эти два значения средних масс могут соответствовать друг другу; во всех остальных случаях среднемассовая мицеллярная масса больше среднечисленной.
Отношение среднемассовой к среднечисленной мицеллярной массе в растворах ПАВ оказывается более высоким, чем можно было допустить на основании предпосылок о полидисперсности мицелл.
Если допустить (хотя бы в первом приближении), что мицеллы монодисперсны или имеют достаточно узкое распределение, то среднее число агрегации m будет величиной постоянной. Теперь, если обозначить через n общее число молекул ПАВ в системе, а через x-долю молекул, образующих мицеллы, тогда число свободных единичных молекул будет
n1= (1- x)n, (2.6.51)
а количество мицелл
nm= nx/m (2.6.52)
и, следовательно,
n = n1+mnm . (2.6.53)
Подставляя выражение (2.6.53) в уравнения для среднечисленной и среднемассовой молекулярных масс, получаем зависимость мицеллярных масс доли связанных в мицеллы молекул ПАВ, т.е. от х :

, (2.6.54)
(2.6.55)
где
,
- среднечисленная и среднемассовая мицеллярные массы.
Разделив обе части уравнений (2.6.54), (2.6.55) на M1, получаем
(2.6.56)
и
, (2.6.57)
|
где
,
- среднечисленное и среднемассовое числа агрегации, соответственно.
Эти уравнения дают зависимость средних чисел агрегации от концентрации растворов ПАВ.
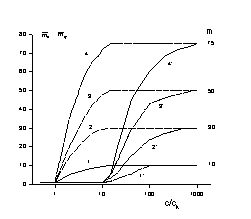
На рис. 2.62. показана зависимость чисел агрегации
и
(1¢,2¢,3¢,4¢) от логарифма концентрации раствора ПАВ для ряда значений m. Результаты получены расчетным путем с помощью электронно-вычислительной машины. Для удобства построения и наглядности на оси абсцисс отложены значения c/cкрит.
Приведенные на этом рисунке данные наглядно показывают различия, которые наблюдаются в обоих методах определения мицеллярных масс - среднее число агрегации асимптотически приближается к определенному (истинному) значению, однако среднемассовое число растет значительно интенсивнее, в то время как среднечисленное значение числа агрегации
сначала изменяется слабо и достигает предела при очень высоких отношениях с/скрит.
Сопоставление рис. 2.61 и рис. 2.62 показывает, что ход расчетных кривых великолепно согласуется с экспериментальными данными.
Параметром применимости того или иного метода может служить концентрация, при которой среднее число агрегации
будет составлять некоторую долю от истинного числа m. Разумно выбрать значение, равное
, поскольку погрешность измерения мицеллярной массы в большинстве методов имеет величину порядка 10%.
Для растворов ПАВ, содержащих в мицеллах десять молекул, такая концентрация для
имеет величину 9 скрит, в то время как для
, составляет 84 cкрит. При m= 110 концентрация, при которой
возрастает только до 9,9 скрит, а для
эта концентрация увеличивается вплоть до 1000 скрит.
Из этого можно заключить, что измерения среднечисленных мицеллярных масс возможны только при очень высоких концентрациях, когда система значительно отклоняется от идеальной. Это особенно важно для растворов неионогенных ПАВ, где обычные методы определения отклонения от идеальности почти неприменимы и поэтому введение поправок на неидеальность невозможно. Таким образом, становится очевидным, что способы определения мицеллярной массы, основанные на среднечисленных методах, вообще неприемлемы.
Рис. 2.61. Зависимость мицеллярной молекулярной массы от концентрации растворов ПАВ (на примере оксиэтилированного октилфенола). M1 - молекулярная масса ПАВ;
,
,
- среднечисленная, среднемассовая и предельная мицеллярная масса
и среднечисловыми