4.6. Методы определения вязкости
Приборы для измерения вязкости называют вискозиметрами. Обычно используют капиллярные, ротационные и шариковые вискозиметры. Наиболее распространенные капиллярные вискозиметры применяют для определения вязкости неструктурированных и слабоструктурированных жидкостей. Схема капиллярного вискозиметра была приведена на рис. 2.28. Основным элементом этих вискозиметров является капилляр. Определение вязкости проводят путем измерения времени t течения жидкости от метки a до метки b. Напряжение деформации может задаваться извне путем присоединения штуцера к моностату, в котором создается давление (или разрежение) Рм. Жидкость может вытекать также под действием гидростатического давления:
Pг = rgh, (2.4.73)
где r – плотность жидкости, g – ускорение свободного падения, h – среднее расстояние между уровнями жидкости в резервуарах А и В.
Вязкость рассчитывают по уравнению Пуазейля:
, (2.4.74)
где V – объем жидкости, вытекающей из капилляра за время t; P – давление, под действием которого жидкость течет; r – радиус капилляра; l – длина капилляра.
В капиллярном вискозиметре объем жидкости в резервуаре всегда постоянный, поэтому уравнение (2.4.74) приводят к виду
, (2.4.75)
где K – постоянная вискозиметра, которую находят при использовании стандартной ньютоновской жидкости.
В ротационных вискозиметрах с колоколообразным статором исследуемая жидкость находится в зазорах как с внешней, так и с внутренней стороны статора. Обычно оба зазора между статором и ротором одной ширины d. Сила сдвига слоев структурированной жидкости измеряется по углу закручивания упругого подвеса с известной упругостью. Если диаметр статора D вискозиметра много больше толщины его стенки и зазора, то скорость сдвига будет одинаковой как во внешнем, так и во внутреннем зазорах и градиент скорости составит
, (2.4.76)
а напряжение
, (2.4.77)
где N – частота вращения ротора, с-1; М = dGk – крутящий момент, действующий на статор; Н – глубина погружения статора в исследуемую жидкость.
Силой трения торца статора о жидкость пренебрегают.
Ротационный вискозиметр с колоколообразным статором используют при низкой и умеренной частоте вращения, когда во внутреннем зазоре отсутствуют нарушения однородности течения.
При высокой частоте вращения используют приборы со сплошным статором. Для такого вискозиметра
. (2.4.78)
Для уменьшения сопротивления торца статора между ним и дном ротора оставляют расстояние А >> d. Если сделать А»d, то придется вводить поправку, учитывающую сопротивление сдвигу в этой части прибора. Для исключения введения этой поправки иногда статор делают коническим.
Рис. 2.48. Схема простейшего ротационного вискозиметра |
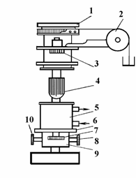
Для измерения вязкости структурированных тиксотропных систем существует группа простых ротационных вискозиметров, в которых статор неподвижен, а измеряется регистрируемая частота вращения ротора под действием постоянной заданной силы. Схема такого прибора приведена на рис 2.48. В этом вискозиметре исследуемую жидкость заливают также в зазор между коаксиальными цилиндрами (ротор 4 и статор 5). Ротор прибора связан со шкивом 2, приводимым во вращение под действием грузов, которые помещают на чашки, закрепленные на капроновом шнуре. Эти чашки можно поднимать, не вращая ротор, что позволяет измерять вязкость структурированных систем без нарушения целостности структуры на подготовительном этапе опыта. На одной оси с ротором закреплен лимб 1, по которому проводят отсчет оборотов вращения ротора. Лимб зафиксирован стопорным винтом 3, при опускании которого чашечки начинают опускаться и вращать ротор совместно с лимбом. Статор прибора установлен на подъемной площадке 6 и зафиксирован винтом 7. Суспензию заливают во внешний цилиндр (статор), который поднимают с помощью подъемного устройства 9, вращая маховик 8 до тех пор, пока верхние торцы ротора и статора не установятся в одну плоскость. Суспензия должна заполнить весь объем между статором и ротором.
Напряжение сдвига находят по формуле
t = K1 m , (2.4.79)
где K1– постоянная прибора, зависящая от зазора между цилиндрами; m– масса груза.
Эффективную вязкость исследуемой жидкости рассчитывают по формуле
, (2.4.80)
где K2 – постоянная, зависящая от сопротивления узлов трения прибора; N – частота вращения ротора за время t.
Рис. 2.49. Схема реовискозиметра Хепплера |
Для сравнительных исследований различных композиционных тиксотропных материалов можно использовать шариковые реовискозиметры, например, реовискозиметр Хепплера, схема которого показана на рис. 2.49. Основным элементом прибора является шарик 10, который через шарнир 6 с помощью зажима 8 крепится на рычаге 5. Рычаг поворачивается вокруг шарнира 2 под действием груза 4 и перемещает шарик 10 в исследуемой жидкости 9, находящейся в термостатируемом сосуде. Перемещение рычага регистрируется индикатором 11. Перед измерением рычаг устанавливают в верхнее положение арретиром 3. Для точной регулировки усилия на рычаге установлен подвижный груз 4.
Напряжение, под действием которого жидкость протекает между шариком и стенкой сосуда
, (2.4.81)
где m – масса груза; l1 и l2 – длины плеч рычага и подвески груза; d – диаметр шарика; g – ускорение свободного падения.
Если зазор (D-d) между шариком и стенкой внутреннего сосуда диаметром D много меньше, чем диаметр шарика d, то средняя скорость в самой узкой части зазора
, (2.4.82)
а объемная скорость течения
v = p U d2/ 4 , (2.4. 83)
где U = S / t – линейная скорость опускания шарика; S – число делений индикатора за время t; K = l2 / l1.
Следует помнить, что полученные на реовискозиметре Хепплера количественные данные относятся к конкретному использованному прибору. Поэтому приборы калибруют по стандартным жидкостям. В частности, для расчета вязкости жидкостей используют уравнение
h = K m / t, (2.4.84)
где m – масса груза; t – время перемещения шарика; K – постоянная прибора, найденная по стандартным жидкостям для определенной пары «шарик – сосуд (пробирка)».

