Абсорбер
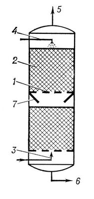
Абсорбер, основной аппарат установки, в которой осуществляют абсорбцию. В абсорбере (часто называется также скруббером) создают развитую поверхность соприкосновения газа и жидкости. Известно несколько типов абсорберов. Насадочный абсорбер (рис. 1) представляет собой металлическую или керамическую колонну, внутри которой имеется несколько горизонтальных решёток 1 с расположенными на них слоями насадки 2 (кокс, металлические или керамические кольца, деревянные решётки, камни и др.), предназначенной для увеличения поверхности соприкосновения газа с жидкостью. Смесь газов поступает в нижнюю часть колонны по трубопроводу, а абсорбент, подаваемый по трубе 4, стекает вниз по насадке навстречу поднимающейся смеси газов. В результате противоточного контактирования газа и жидкости происходит наиболее полное растворение поглощаемых компонентов газовой смеси в абсорбенте. Непоглощённые компоненты газовой смеси удаляются из абсорбера по трубопроводу 5, а насыщенный абсорбент вытекает снизу по трубопроводу 6. Конусы 7 между секциями насадки 2 направляют абсорбент, вытесняемый газом к стенке абсорбера, к центру для более равномерного орошения.
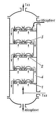
Более сложен абсорбер представляющий собой колонну (рис. 2), в которой вместо решёток и насадки установлены тарелки 1, снабженные патрубками 2, колпачками 3 с зубчатыми краями и переливными трубками 4. Абсорбент стекает с тарелки на тарелку по переливным трубкам, а смесь газов движется снизу вверх, барботируя через слой жидкости. При прохождении между зубьями колпачков газовый поток разбивается на множество мелких пузырьков, что обеспечивает большую поверхность соприкосновения газа и жидкости. В ряде случаев вместо тарелок с колпачками устанавливаются тарелки, в которых просверлено большое число отверстий — ситчатые тарелки.
В процессах, где газ хорошо растворяется в абсорбенте, часто применяют абсорберы, в которых газ проходит над поверхностью жидкости (турилла) или жидкость распыляется в газе на мелкие капли форсунками, вращающимися дисками или турбинками. Абсорберы широко применяют в различных отраслях промышленности.
Лит.: Рамм В. М., Абсорбция газов, М., 1966; Циборовский Я., Основы процессов химической технологии, пер. с польск., Л., 1967; Касаткин А. Г., Основные процессы и аппараты химической технологии, 7 изд., М., 1961.
В.Л. Пебалк.

Рис. 2. Тарельчатый абсорбер.

Рис. 1. Насадочный абсорбер.