Литьевое прессование пластмасс
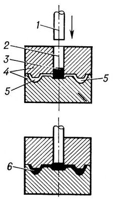
Литьевое прессование пластмасс, трансферное прессование, метод изготовления изделий различной формы из реактопластов, при котором материал размягчается (пластицируется) в литьевом цилиндре (тигле), откуда нагнетается в пресс-форму (рис.), где, отверждаясь, принимает конфигурацию и размеры изделия. В некоторых случаях в тигель может загружаться пластицированный материал из экструдера. Литьевое прессование пластмасс осуществляют на универсальных прессах с одним рабочим плунжером для замыкания пресс-формы и нагнетания в неё материала или на специализированных прессах, у которых замыкание пресс-формы осуществляется одним плунжером, а нагнетание материала — другим.
Литьевое прессование пластмасс применяют для формования изделий сложной конфигурации, повышенной точности, с тонкой арматурой и глубокими отверстиями, с большой разницей в толщине стенок. По технологии и оборудованию литьевое прессование пластмасс занимает промежуточное место между прессованием полимерных материалов и литьём под давлением полимерных материалов.
Лит.: Завгородний В. К., Механизация и автоматизация переработки пластических масс, 3 изд., М., 1970.
В. К. Завгородний.

Схема литьевого прессования пластмасс: 1 — плунжер; 2 — литьевой цилиндр; 3 — нагретый материал; 4 — замкнутая форма; 5 — оформляющая полость формы; 6 — изделие.